Operation CHARM: Car repair manuals for everyone.
Manuals through 2025 now available!

Our trusted friends have launched a new website named LEMON, which has newer manuals. It also contains all the CHARM manuals.

LEMON is the spiritual successor to CHARM, I recommend you try it!

Link: lemon-manuals.la or lemon-manuals.org.ua

(Some people have issue connecting. LEMON is investigating. For now, use Firefox or change your DNS server)

Or, hide this message: temporarily or permanently

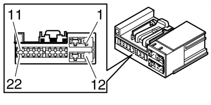
Signal Description, Driver's Door Module / Passenger Door Module (DDM/PDM)






Signal specification

General
All the values given below are between the respective terminal in column 1 and terminal #C1:13 in column 2 (power ground) unless otherwise stated in brackets after the table entry.

Note! It is important to connect the breakout box and check the ground terminals before taking readings.





Driver door module (DDM), Passenger door module (PDM), control modules in rear doors










Driver door module (DDM), Passenger door module (PDM)