Operation CHARM: Car repair manuals for everyone.
Manuals through 2025 now available!

Our trusted friends have launched a new website named LEMON, which has newer manuals. It also contains all the CHARM manuals.

LEMON is the spiritual successor to CHARM, I recommend you try it!

Link: lemon-manuals.la or lemon-manuals.org.ua

(Some people have issue connecting. LEMON is investigating. For now, use Firefox or change your DNS server)

Or, hide this message: temporarily or permanently

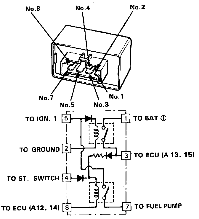
PGM-FI Main Relay Test

Relay Testing

NOTE: If the car starts and continues to run, the main relay is OK.

1. Remove the main relay.






2. Attach the battery positive terminal to the No.4 terminal and the battery negative terminal to the No. 8 terminal of the main relay. Then check for continuity between the No.5 terminal and No.7 terminal of the main relay.
- If there is continuity, go on to step 3.
- If there is no continuity, replace the relay and retest.
3. Attach the battery positive terminal to the No.5 terminal and the battery negative terminal to the No. 2 terminal of the main relay. Then check that there is continuity between the No. 1 terminal and No. 3 terminal of the main relay.
- If there is continuity, go on to step 4.
- If there is no continuity, replace the relay and retest.
4. Attach the battery positive terminal to the No.3 terminal and battery negative terminal to the No.8 terminal of the main relay. Then check that there is continuity between the No.5 terminal and No.7 terminal of the main relay.
- If there is continuity, the relay is OK; If the fuel pump still does not work, go to Harness Testing.
- If there is no continuity, replace the relay and retest.