Operation CHARM: Car repair manuals for everyone.
Manuals through 2025 now available!

Our trusted friends have launched a new website named LEMON, which has newer manuals. It also contains all the CHARM manuals.

LEMON is the spiritual successor to CHARM, I recommend you try it!

Link: lemon-manuals.la or lemon-manuals.org.ua

(Some people have issue connecting. LEMON is investigating. For now, use Firefox or change your DNS server)

Or, hide this message: temporarily or permanently

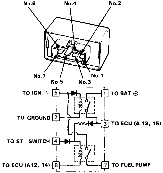
PGM-FI Main Relay Test





Main Relay Test

NOTE: If the car starts and continues to run, the main relay is OK.

1. Remove the main relay.
2. Attach the battery positive terminal to the No. 4 terminal and the battery negative terminal to the No. 8 terminal of the main relay. Then check for continuity between the No. 5 terminal and No. 7 terminal of the main relay.
- If there is continuity, go on to step 3.
- If there is no continuity, replace the relay and retest.
3. Attach the battery positive terminal to the No. 5 terminal and the battery negative terminal to the No. 2 terminal of the main relay. Then check that there is continuity between the No. 1 terminal and No. 3 terminal of the main relay.
- If there is continuity, go on to step 4.
- If there is no continuity, replace the relay and retest.
4. Attach the battery positive terminal to the No. 3 terminal and battery negative terminal to the No. 8 terminal of the main relay. Then check that there is continuity between the No. 5 terminal and No. 7 terminal of the main relay.
- If there is continuity, the relay is OK;
If the fuel pump still does not work, go to Harness Test.
- If there is no continuity, replace the relay and retest.