Operation CHARM: Car repair manuals for everyone.
Manuals through 2025 now available!

Our trusted friends have launched a new website named LEMON, which has newer manuals. It also contains all the CHARM manuals.

LEMON is the spiritual successor to CHARM, I recommend you try it!

Link: lemon-manuals.la or lemon-manuals.org.ua

(Some people have issue connecting. LEMON is investigating. For now, use Firefox or change your DNS server)

Or, hide this message: temporarily or permanently

A/T Torque Data

MPRA 4-spd A/T, R.Side Cover Assembly 1 Of 6:



MPRA 4-spd A/T, R.Side Cover Assembly Legend 2 Of 6:



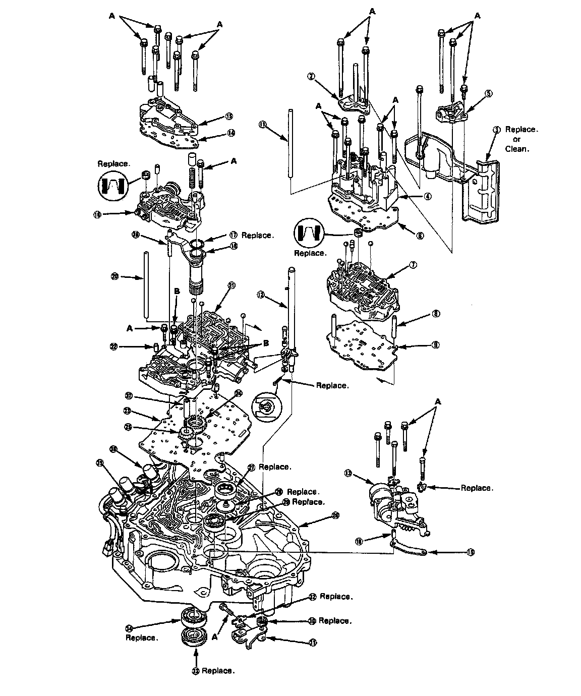
MPRA 4-spd A/T, Transmission Housing 3 Of 6:



MPRA 4-spd A/T, Transmission Housing Legend 4 Of 6:



MPRA 4-spd A/T, Torque Converter Housing 5 Of 6:



MPRA 4-spd A/T, Torque Converter Housing Legend 6 Of 6:



MPRA 4-spd A/T, Transmission Accumulator:



MPRA 4-spd A/T, Transmission Parking Pawl Cover/Assembly:



MPRA 4-spd A/T, Parking Brake Stopper:



MPRA 4-spd M/T, Torque Converter:



MPRA 4-spd A/T, Transmission Mounting:



MPRA 4-spd A/T, Transmission Housing Mounting:



MPRA 4-spd A/T, Gearshift Selector:



MPRA 4-spd A/T, Shift Cable:



MPRA 4-spd A/T, Vacuum Modulator Assembly: