Main Relay (Computer/Fuel System): Description and Operation
Description
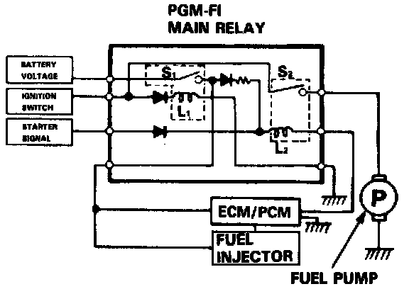
The PGM-FI main relay actually contains two individual relays. This relay is located at the left side of the cowl. One relay is energized whenever the ignition is on which supplies the battery voltage to the ECM/PCM, power to the fuel injectors, and power for the second relay. The second relay is energized for two seconds when the ignition is switched ON (II), and when the engine is running, to supply power to the fuel pump.