Operation CHARM: Car repair manuals for everyone.
Manuals through 2025 now available!

Our trusted friends have launched a new website named LEMON, which has newer manuals. It also contains all the CHARM manuals.

LEMON is the spiritual successor to CHARM, I recommend you try it!

Link: lemon-manuals.la or lemon-manuals.org.ua

(Some people have issue connecting. LEMON is investigating. For now, use Firefox or change your DNS server)

Or, hide this message: temporarily or permanently

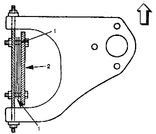
Front







The caster angle can be adjusted by means of the caster shims (1) installed between the chassis frame (2) and fulcrum pins.

Caster angle: 2°10' ± 45'
Left and right side must be equal within 30'.

Difference of the caster shim front/rear thickness should be 3.6 mm (0.142 inch) or less.
Overall thickness of caster shim and camber shim should be 10.8 mm (0.425 inch) or less.


Tighten the fulcrum pin bolt to the specified torque.
Torque: 152 Nm (112 ft. lbs.)