Operation CHARM: Car repair manuals for everyone.
Manuals through 2025 now available!

Our trusted friends have launched a new website named LEMON, which has newer manuals. It also contains all the CHARM manuals.

LEMON is the spiritual successor to CHARM, I recommend you try it!

Link: lemon-manuals.la or lemon-manuals.org.ua

(Some people have issue connecting. LEMON is investigating. For now, use Firefox or change your DNS server)

Or, hide this message: temporarily or permanently

Metri-Pack

Tools Required
J 35689 Terminal Remover




Removal Procedure
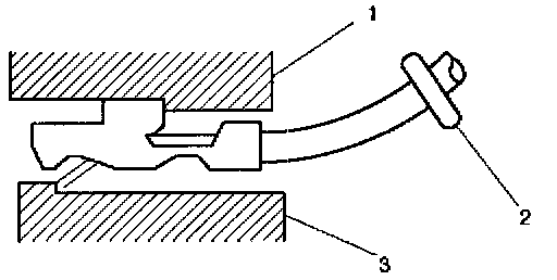
Some connectors use terminals called Metri-Pack Series 150. These may be used at the engine coolant temperature (ECT) sensor.
1. Slide the seal (1) back on the wire.
2. Insert the J 35689 tool or equivalent (3) in order to release the terminal locking tang (2).
3. Push the wire and the terminal out through the connector. If you reuse the terminal, reshape the locking tang.




Installation Procedure
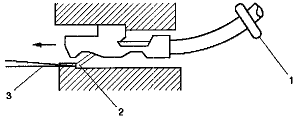
Metri-Pack terminals are also referred to as "pull-to-seat" terminals.
1. In order to install a terminal on a wire, the wire must be inserted through the seal (2) and through the connector (3).
2. The terminal (1) is then crimped onto the wire.
3. Then the terminal is pulled back into the connector to seat it in place.