Operation CHARM: Car repair manuals for everyone.
Manuals through 2025 now available!

Our trusted friends have launched a new website named LEMON, which has newer manuals. It also contains all the CHARM manuals.

LEMON is the spiritual successor to CHARM, I recommend you try it!

Link: lemon-manuals.la or lemon-manuals.org.ua

(Some people have issue connecting. LEMON is investigating. For now, use Firefox or change your DNS server)

Or, hide this message: temporarily or permanently

Torque Specifications

Timing Components:






Lower Engine:
















Crankshaft Bolt Size Identification

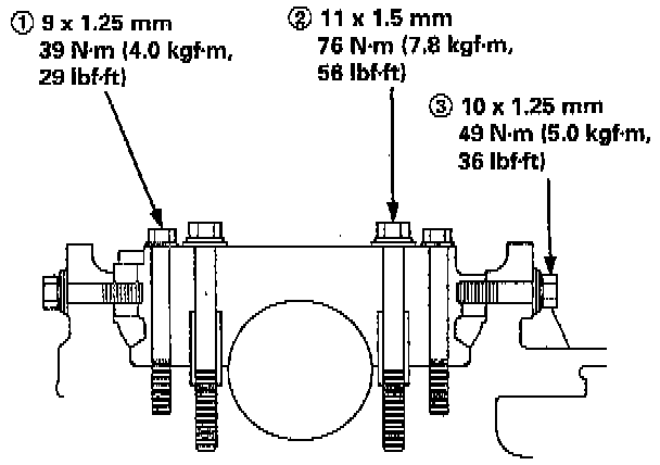
Bearing Cap Bolt Sequence:






Tighten the 9 x 1.25 mm cap bolts in sequence to 39 n.m. (29 lb. ft.)

Tighten the 11 x 1.5 mm cap bolts in sequence to 76 n.m. (56 lb. ft.)

Tighten the 10 x 1.25 mm cap bolts in sequence to 49 n.m. (36 lb. ft.)

















Oil Pan Torque Sequence: