Operation CHARM: Car repair manuals for everyone.
Manuals through 2025 now available!

Our trusted friends have launched a new website named LEMON, which has newer manuals. It also contains all the CHARM manuals.

LEMON is the spiritual successor to CHARM, I recommend you try it!

Link: lemon-manuals.la or lemon-manuals.org.ua

(Some people have issue connecting. LEMON is investigating. For now, use Firefox or change your DNS server)

Or, hide this message: temporarily or permanently

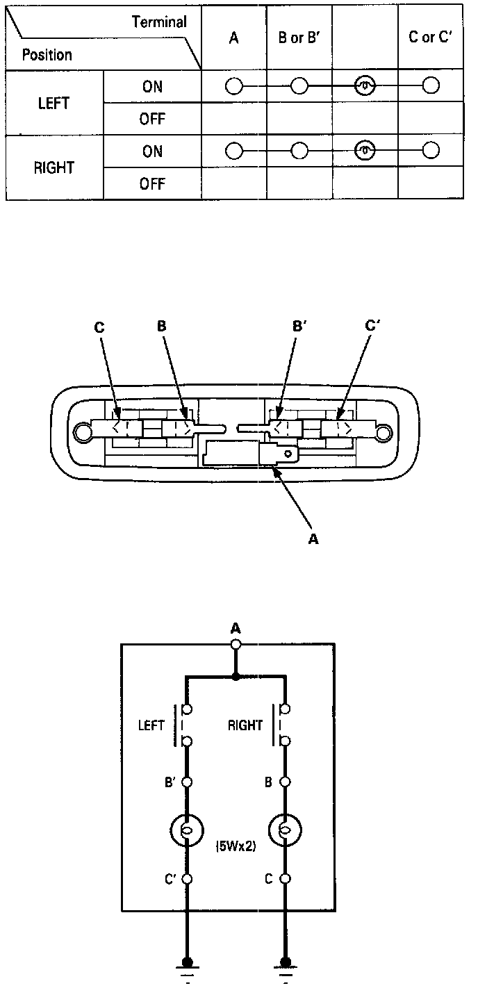
Map Light: Service and Repair

SPOTLIGHT / TEST AND REPLACEMENT
1. Turn the light switch OFF.
2. Pry off the lens.
3. Remove the two screws, then pull out the housing.


Hatchback:





Hatchback

Sedan:





Sedan

4. Disconnect the connector from the housing.







5. Check for continuity between the terminals in each switch position according to the table.