Operation CHARM: Car repair manuals for everyone.
Manuals through 2025 now available!

Our trusted friends have launched a new website named LEMON, which has newer manuals. It also contains all the CHARM manuals.

LEMON is the spiritual successor to CHARM, I recommend you try it!

Link: lemon-manuals.la or lemon-manuals.org.ua

(Some people have issue connecting. LEMON is investigating. For now, use Firefox or change your DNS server)

Or, hide this message: temporarily or permanently

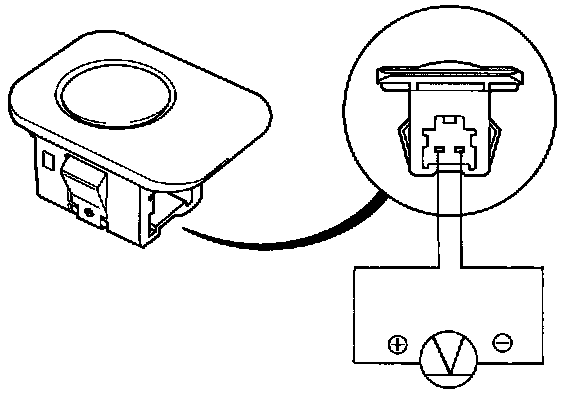
Sunlight Sensor Test

Sunlight Sensor-Test:




Measure the voltage between the terminals with the sensor out of direct sunlight.
- With the connector connected (probe the back of it): 1.4 ± 0.2 V
- With the connector disconnected: 0.1 - 0.2 V