Operation CHARM: Car repair manuals for everyone.
Manuals through 2025 now available!

Our trusted friends have launched a new website named LEMON, which has newer manuals. It also contains all the CHARM manuals.

LEMON is the spiritual successor to CHARM, I recommend you try it!

Link: lemon-manuals.la or lemon-manuals.org.ua

(Some people have issue connecting. LEMON is investigating. For now, use Firefox or change your DNS server)

Or, hide this message: temporarily or permanently

Splice Locations

Circuit 11 Interior Illumination (Positive) Image 15:



Circuit 11 Interior Illumination (Positive) Image 15-1:



Circuit 12 Interior Illumination (Negative) Image 15-2:



Circuit 13 Brake Pedal Position Image 15-3a:



Circuit 14 Tailgate Relay Control Image 15-3b:



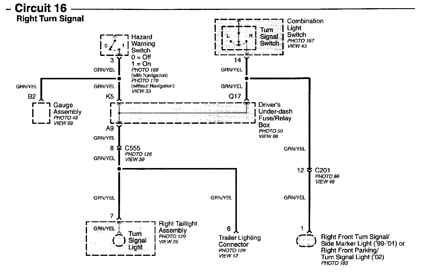
Circuit 16 Right Turn Signal Image 15-4a:



Circuit 17 Left Turn Signal Image 15-4b:



Circuit 60 Horn Relay Control Image 15-3c:



Circuit 173 Left Rear Door Image 15-5a:



Circuit 174 Driver's Door Image 15-5b:



Circuit 175 Right Rear Door Image 15-5c:



Circuit 176 Front Passenger's Door Image 15-5d:



Circuit 177 Seat Belt Buckle Image 15-6a:



Circuit 178 Trunk Lid Image 15-6b:



Circuit 207 (Canada) Parking Brake Position Image 15-7a:



Circuit 207 (USA) Parking Brake Position Image 15-7b:



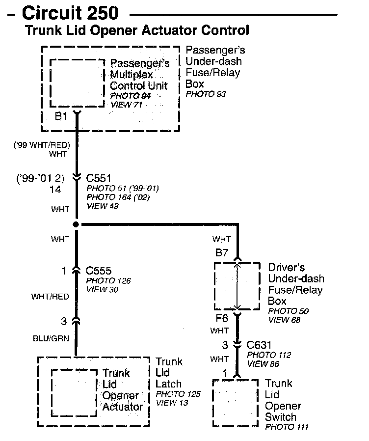
Circuit 250 Trunk Lid Opener Actuator Control Image 15-6c:



Circuit 408 Ground For Climate Control Sensor Image 15-8a:



Circuit D04 Power Source For PCM Control Image 15-8b:



Circuit D45 Reference Voltage For PCM Sensor Image 15-9a:



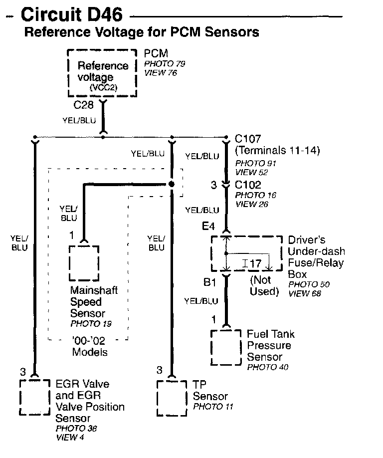
Circuit D46 Reference Voltage For PCM Sensor Image 15-9b:



Circuit E03 Alternator Charging Signal (L) Image 15-9c:



Circuit E90 ECT Sensor Signal Image 15-9d:



Circuit F12 (Except Type S) Fan Controls Image 15-10a:



Circuit F28 Service Check Image 15-10b:



Circuit F29 Service Check Signal Image 15-11a:



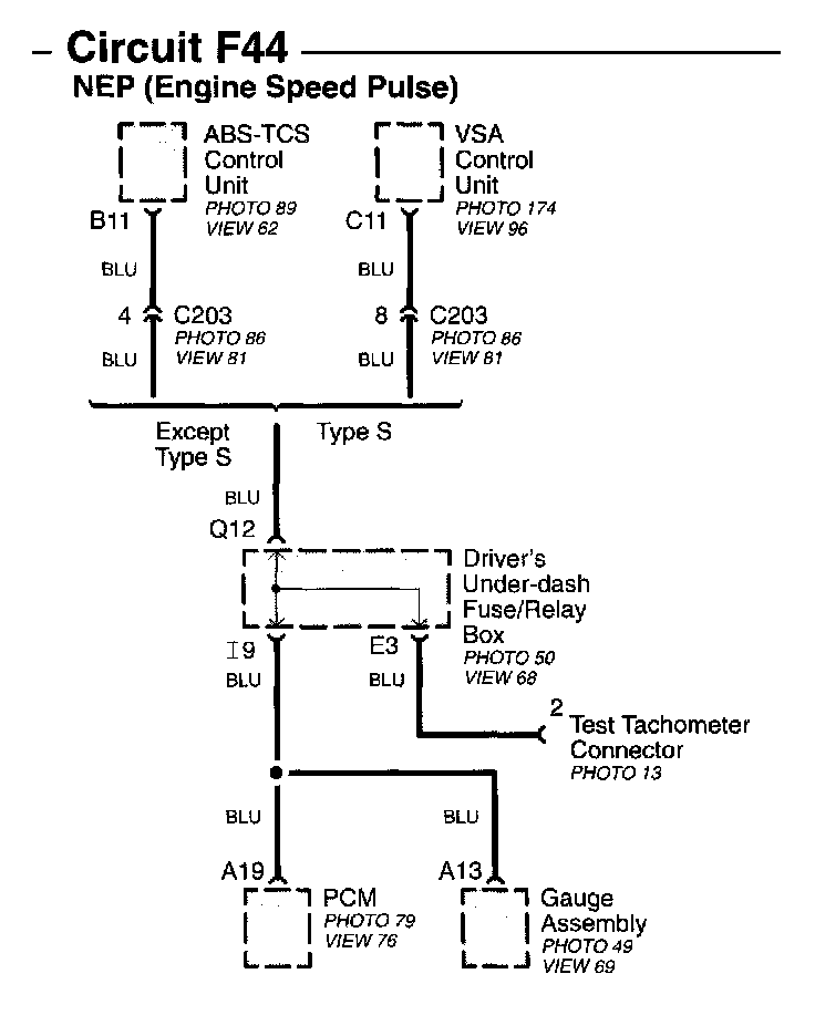
Circuit F44 NEP (Engine Speed Pulse) Image 15-11b:



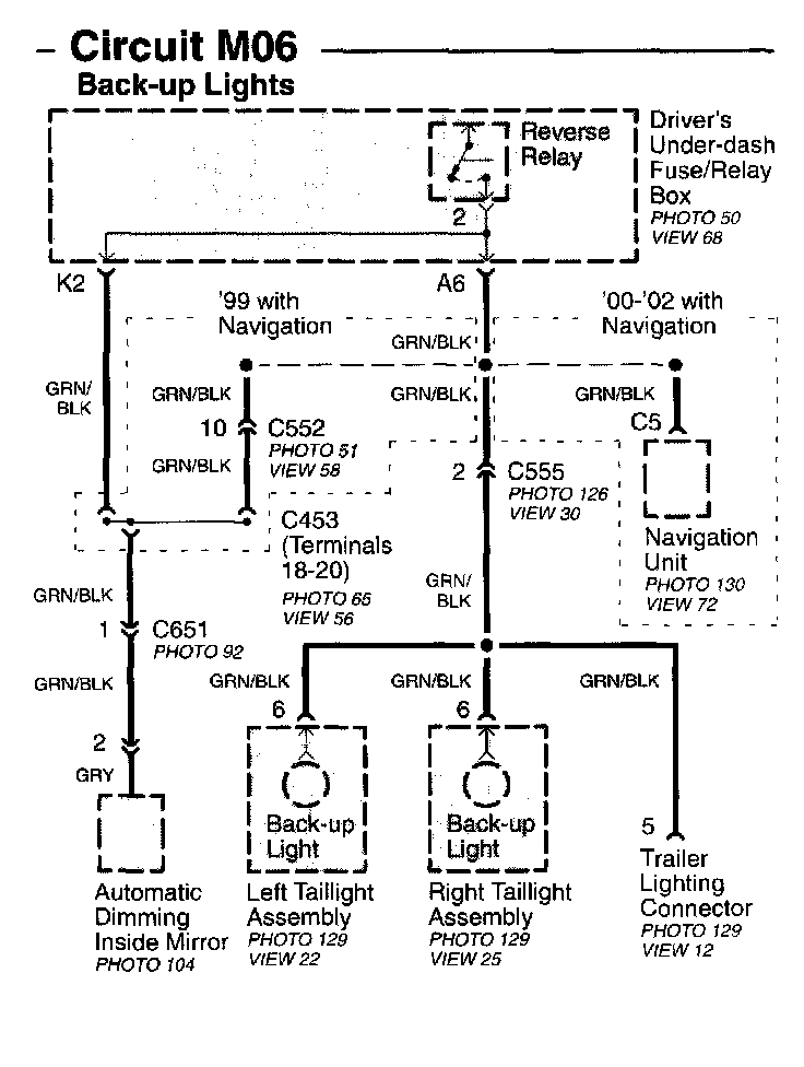
Circuit M06 Back-up Lights Image 15-11c:



Circuit M22 A/T Neutral Position Image 15-11d:



Circuit M28 A/T Position 1 Image 15-12a:



Circuit M29 A/T Position 2 Image 15-12b:



Circuit M31 A/T Position D3 Image 15-12c:



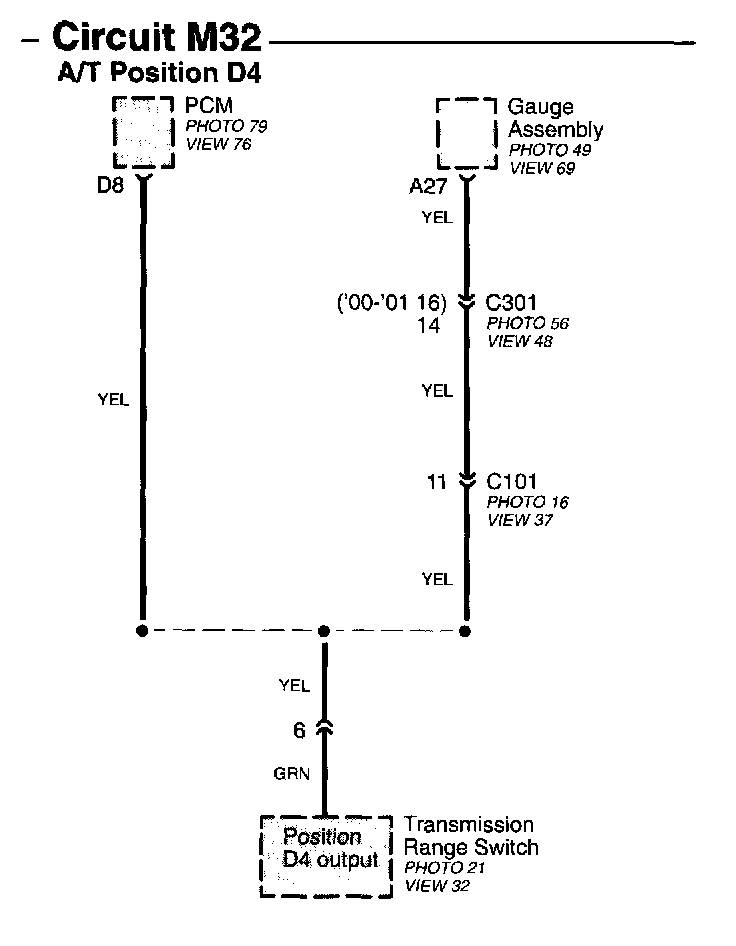
Circuit M32 A/T Position D4 Image 15-13a:



Circuit M34 A/T Reverse Position Image 15-13b:



Circuit M35 A/T Park Position Image 15-13c:



Circuit M36 A/T Park/Neutral Position Image 15-13d:



Circuit Z28 Ground For PCM Sensor Image 15-14:



Circuit F44 NEP (Engine Speed Pulse) Image 15-15a:



Circuit S51 Driver's Seat Belt Tension Reducer Image 15-15b:



Circuit S53 Front Passenger's Seat Belt Tension Reducer Image 15-15c:



Circuit X03 DPMS Communication Image 15-15d:



Circuit E93 Vehicle Speed Sensor Signal:



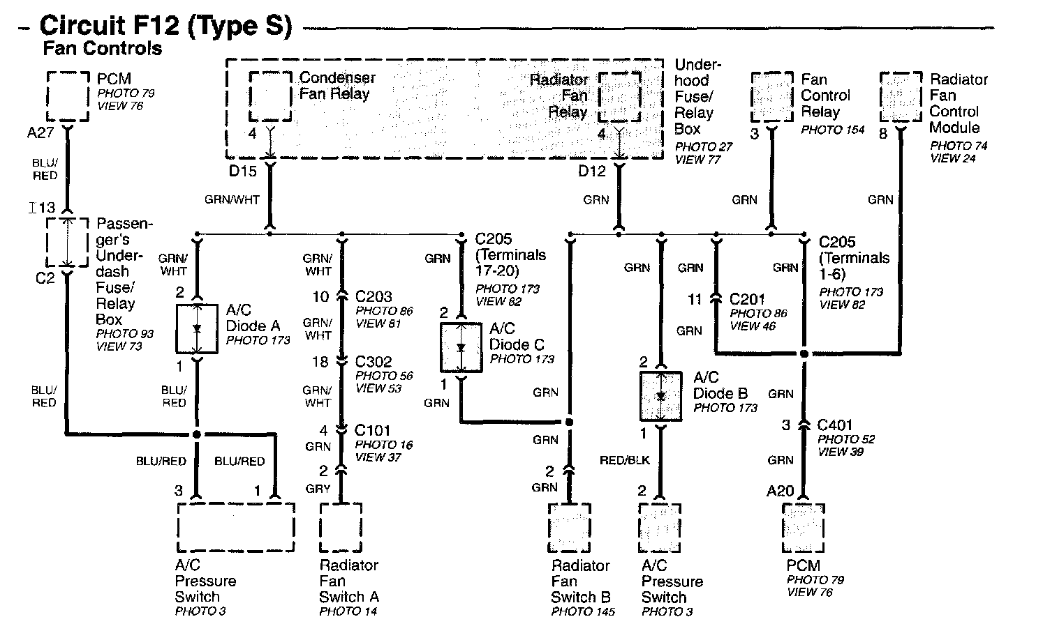
Circuit F12 (Type S) Fan Controls Image 15-16b: