Operation CHARM: Car repair manuals for everyone.
Manuals through 2025 now available!

Our trusted friends have launched a new website named LEMON, which has newer manuals. It also contains all the CHARM manuals.

LEMON is the spiritual successor to CHARM, I recommend you try it!

Link: lemon-manuals.la or lemon-manuals.org.ua

(Some people have issue connecting. LEMON is investigating. For now, use Firefox or change your DNS server)

Or, hide this message: temporarily or permanently

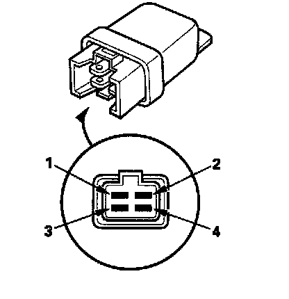
Power Relay Test

Power Relay Test




Use the chart to identify the type of relay, then do the test listed for it.

NOTE: See Turn Signal/Hazard Relay for the turn signal/hazard relay input test.

Normally-open type A:




Check for continuity between the terminals.
- There should be continuity between the No.1 and No.2 terminals when power and ground are connected to the No.3 and No.4 terminals.
- There should be no continuity between the No.1 and No.2 terminals when power is disconnected.

Normally-open type B:




Rear Window Defogger Relay:




Rear Blower Motor Relay:




Blower Motor Relay, Type 1,2,3:




Check for continuity between the terminals.
- There should be continuity between the No.1 and No.3 terminals when power end ground are connected to the No.2 and No.4 terminals.
- There should be no continuity between the No.1 and No.3 terminals when power is disconnected.

Five-terminal type:




Check for continuity between the terminals.
- There should be continuity between the No.1 and No.2 terminals when power and ground are connected to the No.3 and No.5 terminals.
- There should be continuity between the No.1 and No.4 terminals when power is disconnected.