Operation CHARM: Car repair manuals for everyone.
Manuals through 2025 now available!

Our trusted friends have launched a new website named LEMON, which has newer manuals. It also contains all the CHARM manuals.

LEMON is the spiritual successor to CHARM, I recommend you try it!

Link: lemon-manuals.la or lemon-manuals.org.ua

(Some people have issue connecting. LEMON is investigating. For now, use Firefox or change your DNS server)

Or, hide this message: temporarily or permanently

Fuse: Service and Repair

SRS components are located in this area. Review the SRS component locations, precautions, and procedures before performing repairs or service.

Under-dash Fuse Box-Removal/Installation:




Removal:
1. Disconnect both the negative cable and positive cable from the battery.
2. Carefully remove the side sill pad (pull it up, rear end first).
3. Remove the fuse box door.
4. Remove the three screws, then remove the side sill trim.
5. Remove the under-dash fuse box mounting bolts.

Under-dash Fuse Box-Removal/Installation:




6. Disconnect the under-dash fuse box connectors.

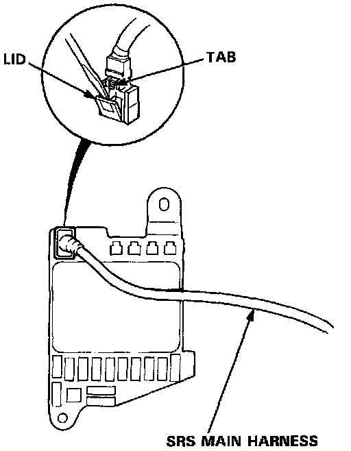
NOTE: The SRS main harness connector is double locked. To remove it, first lift the connector lid, then press the connector tab down and pull the connector out.

7. Take out the under-dash fuse box.

Installation:
1. Connect the connectors to the under-dash fuse box.

NOTE: To reinstall the SRS main harness connector, push it into position until it clicks, then close the connector lid.

2. Install the under-dash fuse box.

Under-dash Fuse Box-Removal/Installation:




3. Install the side sill trim, fuse box door and door sill pad.
4. Connect both the negative cable and positive cable to the battery.
5. Confirm that all systems work properly.