Operation CHARM: Car repair manuals for everyone.
Manuals through 2025 now available!

Our trusted friends have launched a new website named LEMON, which has newer manuals. It also contains all the CHARM manuals.

LEMON is the spiritual successor to CHARM, I recommend you try it!

Link: lemon-manuals.la or lemon-manuals.org.ua

(Some people have issue connecting. LEMON is investigating. For now, use Firefox or change your DNS server)

Or, hide this message: temporarily or permanently

Transmission Installation

Installation
1. Flush the ATF cooler.





2. Install the air cleaner housing mounting bracket.





3. Install the front mount.





4. Install the rear mount/bracket.





5. Install the torque converter assembly (A) on the mainshaft (B) with the new O-ring (C).
6. Install the 14 x 20 mm dowel pins (D) in the torque converter housing.
7. Place the transmission on a jack, and raise the transmission to the engine level.





8. Attach the transmission to the engine, then install the transmission housing mounting bolts.





9. Install the transmission housing mounting bolts.





10. Install the transmission housing mounting bolts.





11. Install the transmission mount bracket (A). Tighten the mount bolt (B) loosely, and tighten the transmission mount bracket bolt and nuts to the specified torque, then tighten the mount bolt to the specified torque.





12. Install the new set ring (A) on the intermediate shaft (B).
13. Clean the areas where the intermediate shaft contacts the transmission (differential) with solvent or carburetor cleaner, and dry with compressed air. Then install the intermediate shaft in the differential. While installing the intermediate shaft, be sure not to allow dust or other foreign particles to enter the transmission.
14. Install the intermediate shaft cover (C) with installing the mounting baits loosely.
15. First tighten the right upper bolt (D) on the cover, then right lower bolt (E), and lastly the left bolt (F).





16. Install the new set ring (A) on the left driveshaft (B).
17. Install the right and left driveshaft. While installing the left driveshaft in the differential, be sure not to allow dust or other foreign particles to enter the transmission.

NOTE:
- Clean the areas where the left driveshaft contacts the transmission (differential) with solvent or carburetor cleaner, and dry with compressed air.
- Turn the right and left steering knuckle fully outward, and slide the left driveshaft into the differential until you feel its set ring engages the side gear. Slide the right driveshaft over the intermediate shaft splines until you feel the driveshaft engages the intermediate shaft set ring.





18. Support the sub-frame (A) with a 4 x 4 x 40 inch piece of wood (B), and lift it up to the body.





19. Loosely install the four sub-frame mounting bolts.





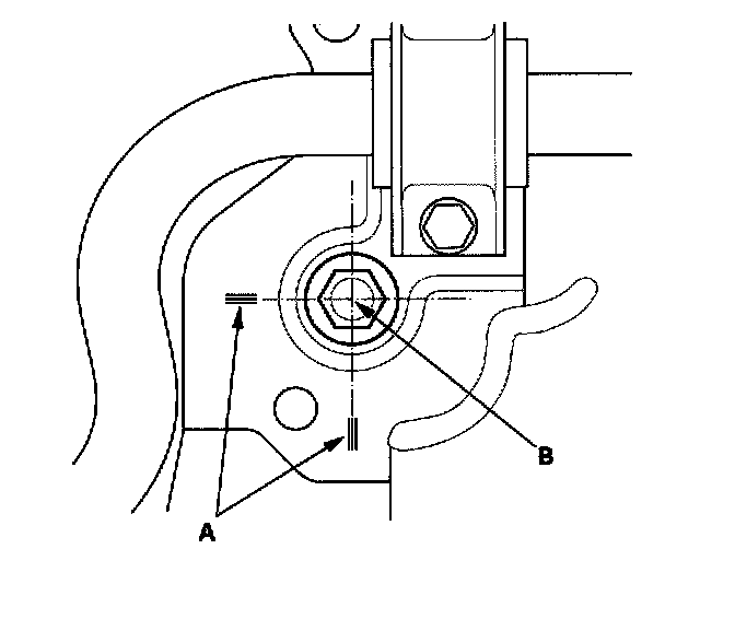
20. Align the reference marks (A) with the center of the sub-frame mounting bolt heads (B), then tighten the bolts to the specified torque.





21. Install the rear mount bracket bolts.





22. Install the front mount bolt (A) and nut (B), connect the ATF cooler hose (C) to the ATF cooler pipe.
23. Remove the jack from the transmission.





24. Attach the shift cable end (A) to the control lever (B), then insert the control pin (C) into the control lever hole through the shift cable end, and secure the control pin with the spring clip (D). Do not bend the shift cable excessively.
25. Install the shift cable cover (E), then secure the shift cable holder (F) to the shift cable cover with the bolts.

NOTE: To prevent damage to the shift cable end at the control lever joint, be sure to secure the shift cable holder to the shift cable cover after installing the shift cable cover to the torque converter housing.





26. Attach the torque converter to the drive plate with eight bolts (A). Rotate the crankshaft pulley as necessary to tighten the bolts to 1/2 of the specified torque, then to the final torque, in a crisscross pattern. After tightening the last bolt, check that the crankshaft rotates freely.
27. Install the torque converter cover (B).





28. Install the exhaust pipe/catalytic converter with the new gaskets.





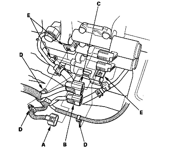
29. Connect the A/F sensor connector (A) and secondary H02S connector (B), and clamp the harnesses.





30. Connect the ball joints (A) to the lower arms (B), and install the castle nuts (C) and spring clips (D). Insert the spring clips from inside of the vehicle, and its hooked side facing the front (E) of the vehicle in the range of the insertion direction shown.
31. Connect the ball joints (F) to the lower arms, and install the nuts (G). Insert a 5 mm Allen wrench (H) in the top of the ball joint pins, and tighten the nuts.





32. Install the splash shield.
33. Remove the engine hanger and special tool from the engine. Install the brake booster and EVAP line bracket mounting bolts (A), and air cleaner housing bracket mounting bolt (B). Tighten air cleaner housing bracket mounting bolt (C), and install the water pipe mounting bolt (D).





34. Install the engine harness cover.
35. Secure the water line with the bolts, and tighten the air cleaner housing mounting bolt. Install the harness cover.





36. Connect the ATF cooler hoses (A) to the ATF cooler lines (B).





37. Connect the shift solenoid harness connector (A), A/T clutch pressure control solenoid valve B connector, and solenoid valve C connector. Install the harness clamps (D) on the clamp brackets. (E).





38. Connect the 3rd clutch pressure switch connector.





39. Connect the transmission range switch connector (A), and install it on its bracket (B).





40. Connect the connectors to the mainshaft speed sensor (C) and countershaft speed sensor (D).
41. Connect the A/T clutch pressure control solenoid valve A connector and 2nd clutch pressure switch connector (B), and install the harness clamps (C) on the clamp brackets (D).
42. Install the transmission ground terminal (E).
43. Install the battery base, then install the harness clamp on the clamp bracket on the base.
44. Refill the transmission with ATF.
45. Install the intake air duct and air cleaner housing.
46. Install the battery tray and battery, then secure the battery with its hold-down bracket.
47. Connect the battery positive terminal, then connect the negative terminal.
48. Set the parking brake. Start the engine, and shift the transmission through all gears three times.
49. Check the shift lever operation, A/T gear position indicator operation, and shift cable adjustment.
50. Check and adjust the front wheel alignment.
51. Start the engine and let it idle until it reaches normal operating temperature (the radiator fan comes on) with the transmission in the P or N position, then turn it off and check the ATF level.
52. Perform the road test.
53. Enter the radio station presets, and set the clock.