Operation CHARM: Car repair manuals for everyone.
Manuals through 2025 now available!

Our trusted friends have launched a new website named LEMON, which has newer manuals. It also contains all the CHARM manuals.

LEMON is the spiritual successor to CHARM, I recommend you try it!

Link: lemon-manuals.la or lemon-manuals.org.ua

(Some people have issue connecting. LEMON is investigating. For now, use Firefox or change your DNS server)

Or, hide this message: temporarily or permanently

Transmission Removal

Removal

Special Tools Required
Engine hanger, A and Reds AAR-T-12566 or equivalent, commercially available.

1. Before disconnecting the battery, make sure you have the anti-theft code for the radio, then write down the frequencies for the radio's preset stations.





2. Remove the bolts securing the support struts on the both side hood. Secure the hood in a vertical position, then install the left strut with its bolt in the lower position.

NOTE: Do not attempt to close the hood with the support strut in the vertical position; it will damage the support strut and hood.

3. Remove the battery cover.
4. Disconnect the battery negative terminal, then remove the positive terminal.
5. Remove the battery hold-down bracket, then remove the battery and battery tray.
6. Remove the battery cable clamps from the battery base, then remove the battery base.
7. Loosen the mounting bolt securing the battery base bracket, then remove the battery base bracket.





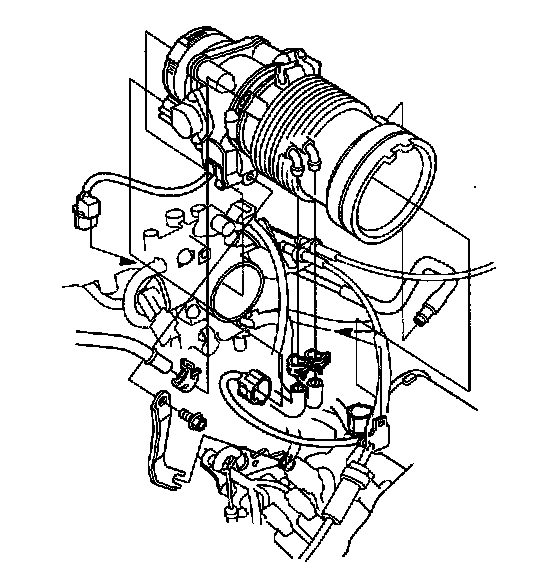
8. Remove the engine covers.





9. Remove the intake air duct.
- For PREMIUM models: Remove the intake air duct (not shown).
- For TYPE S models: Remove the intake air duct-TCS control valve assembly





10. Raise the vehicle, and make sure it is securely supported. Remove the drain plug (A), and drain the automatic transmission fluid (ATF). Reinstall the drain plug with a new sealing washer (B).





11. Remove the starter cables (A) from the starter (B), then remove the starter.





12. Remove the harness clamps (A) from the clamp brackets (B), then disconnect the connectors from the shift solenoid valves A (C) and C (D), A/T clutch pressure control solenoid valve C (E), 4th clutch pressure switch (F), and mainshaft speed sensor (G).
13. Remove the transmission ground cable terminal (H).





14. Remove the 8P connector (C) from the connector bracket (D), then disconnect the connector.
15. Remove the harness clamp (E) from the clamp bracket (F), then disconnect the connectors from A/T clutch pressure control solenoid valves A and B.





16. Disconnect the connectors from the torque converter clutch solenoid valve (A) and shift control solenoid valve B.





17. Remove the joint connector (A) and transmission range switch connector (B) from the connector bracket (C).
18. Disconnect the transmission range switch connector (B), then remove the harness clamp (D) from the clamp bracket (E).
19. Disconnect the connector from the countershaft speed sensor (F).
20. Remove the bolt (G) securing the harness cover (H), then remove the harness cover from the mounting bracket (I).





21. Put shop rags around the ATF warmer (A) to remove the ATF that flows out.
22. Remove the bolts (B) securing the ATF warmer (A), then remove the ATF warmer from the transmission housing. Cover the fluid passages on the transmission and ATF warmer with tape. Do not disconnect the hoses (C).





23. Remove the nut from the front mount.





24. Lift and support the engine/transmission assembly with a commercially available engine hanger (A). Before attaching the hanger, remove the front bulkhead cover, and the front support beam.





25. Remove the splash shield.





26. Remove the cotter pins (A), castle nuts (B), and damper forks (C), then separate the ball joints from the lower arms (D).
27. Remove the bolts securing the radius rods (E), then separate the radius rods from the lower arms (D).
28. Pry the driveshafts out of the differential and the intermediate shaft (see step 10).
29. Pull on the inboard joints to remove the left driveshaft from the differential and to remove the right driveshaft from the intermediate shaft.





30. Make a reference mark (A) across the front beam (B) and the rear beam (C).





31. Disconnect the vacuum tube (A) on the front beam (B), and unclamp the power steering fluid pipes (C) from the clamps on the front beam.
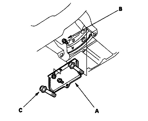
32. Remove the nuts securing the transmission lower mounts, then remove the front beam (B).





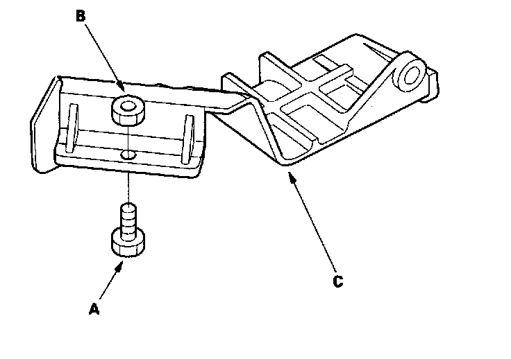
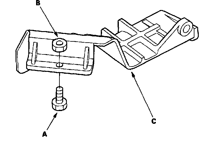
33. Remove the transmission lower rear mount (A) from transmission.
34. Move the left driveshaft to the front side. Coat all precision finished surfaces with clean engine oil, then tie plastic bags (B) over the driveshaft ends.





35. Remove the intermediate shaft.
36. Coat all precision finished surfaces with clean engine oil, then tie plastic bags over both ends of intermediate shaft.





37. Remove the bolts securing shift cable holder (A), then remove shift cable cover (B).

NOTE: To prevent damage to the control lever joint, remove the bolts securing the holder before removing the bolts securing the cover.

38. Remove the lock bolt (C) securing the control lever (D), then remove the shift cable (E) with the control lever. Do not bend the shift cable excessively.





39. Install a 6 x 1.0 x 14 mm bolt (A) and nut (B) on the shift cable cover (C), then reinstall the shift cable cover to the torque converter housing. If you don't do this, the bolt head of the cable cover may prevent you from removing the torque converter during transmission removal.





40. Remove the torque converter cover (A), then remove the eight drive plate bolts (B) one at a time while rotating the crankshaft pulley.
41. Remove the torque converter housing mounting bolts (C).





42. Remove the front mount bracket.
43. Place a transmission jack under the transmission.





44. Remove the transmission housing mounting bolts.





45. Remove the remaining transmission housing mounting bolts (A) and the rear mount bracket bolt (B).
46. Pull the transmission away from the engine until it clears the dowel pins, then lower it on the transmission jack.

NOTE: If the torque converter is stuck to the drive plate, pull it toward the transmission housing through the starter opening.





47. Remove the shift cable cover, then remove the torque converter assembly from the torque converter housing.





48. Remove the transmission lower front mount.





49. Inspect the drive plate, and replace it if it's damaged.





50. Remove the 6 x 1.0 x 14 mm bolt (A) and nut (B) from the shift cable cover (C).