Operation CHARM: Car repair manuals for everyone.
Manuals through 2025 now available!

Our trusted friends have launched a new website named LEMON, which has newer manuals. It also contains all the CHARM manuals.

LEMON is the spiritual successor to CHARM, I recommend you try it!

Link: lemon-manuals.la or lemon-manuals.org.ua

(Some people have issue connecting. LEMON is investigating. For now, use Firefox or change your DNS server)

Or, hide this message: temporarily or permanently

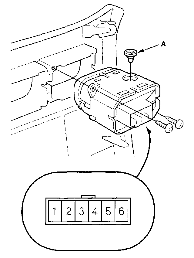
Controller Test

Dash Lights Brightness Controller

Controller Test

1. Remove the dashboard lower cover.




2. Disconnect the 6P connector from the controller.
3. Measure resistance between the No.4 and No.5 terminals while rotating the adjusting dial. Resistance should vary from 0 to 20 kOhms as the dial is rotated.
4. If necessary, check the illumination bulb (A).