Operation CHARM: Car repair manuals for everyone.
Manuals through 2025 now available!

Our trusted friends have launched a new website named LEMON, which has newer manuals. It also contains all the CHARM manuals.

LEMON is the spiritual successor to CHARM, I recommend you try it!

Link: lemon-manuals.la or lemon-manuals.org.ua

(Some people have issue connecting. LEMON is investigating. For now, use Firefox or change your DNS server)

Or, hide this message: temporarily or permanently

Fog/Driving Lamp: Service and Repair

Fog Light Replacement




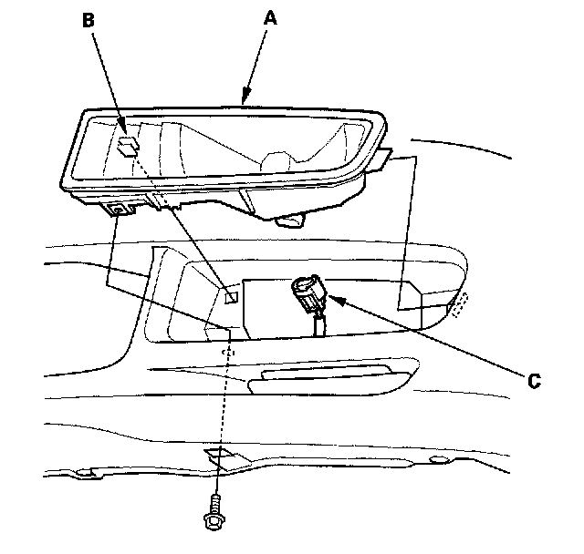
1. Remove the mounting bolt from the fog light (A).
2. Release the hook (B) from the fog light.
3. Disconnect the 2P connector (C) and remove the fog light assembly.




4. Turn the bulb socket (A) 45 ° counterclockwise to remove it from the housing (B).