Operation CHARM: Car repair manuals for everyone.
Manuals through 2025 now available!

Our trusted friends have launched a new website named LEMON, which has newer manuals. It also contains all the CHARM manuals.

LEMON is the spiritual successor to CHARM, I recommend you try it!

Link: lemon-manuals.la or lemon-manuals.org.ua

(Some people have issue connecting. LEMON is investigating. For now, use Firefox or change your DNS server)

Or, hide this message: temporarily or permanently

Navigation System: Service and Repair

DVD-ROM Replacement

NOTE: When the DVD-ROM is re-inserted or replaced, a Map Matching must be done.

1. Turn the ignition switch ON (II).




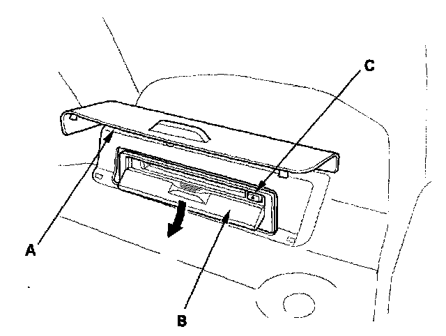
2. Open the cover (A) on the right side of the trunk to gain access to the navigation unit.
3. Open the door (B), then press the EJECT button (C).
4. Remove the DVD-ROM.
5. Insert the new DVD-ROM with the orange label facing up.
6. Close the front cover. Do not turn the ignition switch OFF; watch the navigation screen until the data is down loaded to the navigation unit.

NOTE: After servicing, the front cover and PC card slot door must be closed. If you start up the navigation system with the front cover or PC card slot door open, the display will indicate an error message.