Operation CHARM: Car repair manuals for everyone.
Manuals through 2025 now available!

Our trusted friends have launched a new website named LEMON, which has newer manuals. It also contains all the CHARM manuals.

LEMON is the spiritual successor to CHARM, I recommend you try it!

Link: lemon-manuals.la or lemon-manuals.org.ua

(Some people have issue connecting. LEMON is investigating. For now, use Firefox or change your DNS server)

Or, hide this message: temporarily or permanently

Power Mirror Motor: Service and Repair

Power Mirror Actuator Replacement

1. Remove the mirror holder, power mirror, and disconnect the connector.




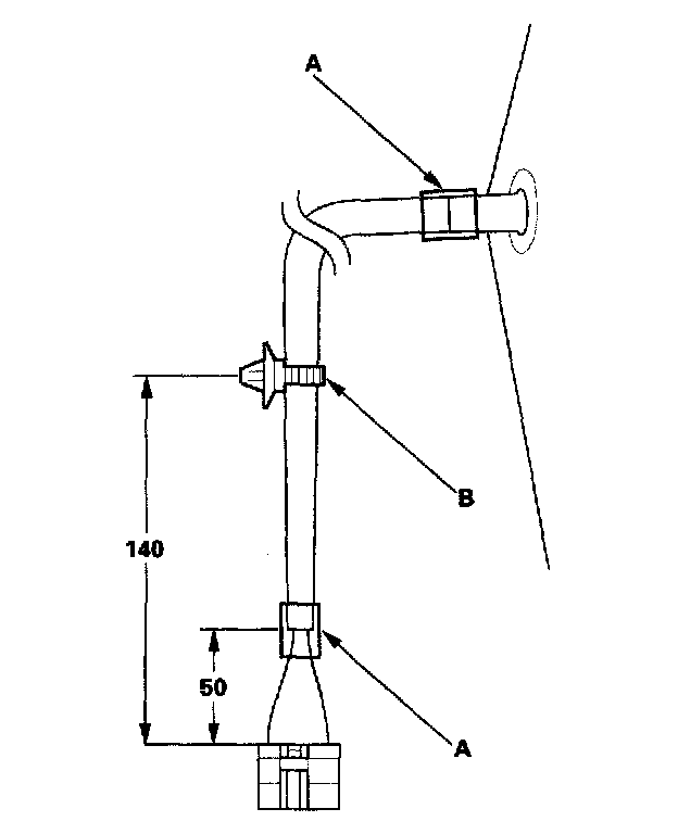
2. Cut the wire harness (A), tube (B) with cutter, and remove the clip (C).
3. Remove the screw from the harness clip (D) and the gasket (E).




4. Remove the three screws, and separate the mirror housing (A) from the bracket (B).




5. Remove the four screws, and the visor (A).




6. Remove the one screw and separate the actuator (A) from the housing (B), then disconnect the 2P connector (C).
7. Route the wire harness of the new actuator through the hole in the bracket and gasket.
8. Install the actuator, bracket, harness clip, and gasket in the reverse order of removal.




9. Install the new actuator terminals into the connector in the original arrangement as shown.




10. Cover the harness hole with a tape (A).
11. Install the clip (B).
12. Reinstall the mirror assembly to the door.
13. Operate the power mirror to ensure smooth operation.