Operation CHARM: Car repair manuals for everyone.
Manuals through 2025 now available!

Our trusted friends have launched a new website named LEMON, which has newer manuals. It also contains all the CHARM manuals.

LEMON is the spiritual successor to CHARM, I recommend you try it!

Link: lemon-manuals.la or lemon-manuals.org.ua

(Some people have issue connecting. LEMON is investigating. For now, use Firefox or change your DNS server)

Or, hide this message: temporarily or permanently

Clutch Pressure Control Solenoid Valve A Test

A/T Clutch Pressure Control Solenoid Valve A Test





1. Connect the HDS to the DLC (A).
2. Choose Clutch Pressure Control (Linear) Solenoid A in Miscellaneous Test Menu on the HDS.
3. Test the A/T clutch pressure control solenoid valve A with the HDS.
4. Follow instructions indicated on the HDS by the test result. If the HDS has not determined the cause of the failure, remove A/T clutch pressure control solenoid valve A and test.
5. Remove the intake air duct.





6. Disconnect the A/T clutch pressure control solenoid valve A connector.
7. Measure A/T clutch pressure control solenoid valve A resistance at the solenoid valve A connector.
Standard: 3 - 10 Ohms
8. If the resistance is out of standard, replace the A/T clutch pressure control solenoid valve A.
9. Connect the battery positive terminal to the A/T clutch pressure control solenoid valve connector terminal No. 1, and connect the battery negative terminal to the No. 2 terminal. A clicking sound should be heard.
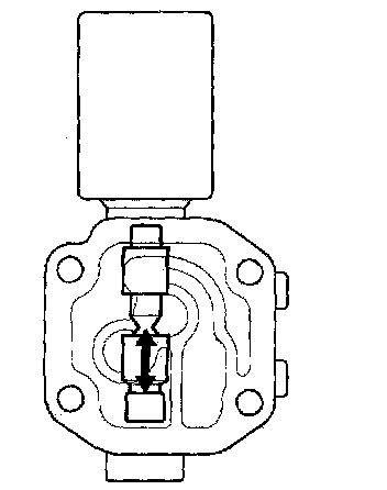
10. If no sound is heard, remove the A/T clutch pressure control solenoid valve A, and check the valve movement.





11. Remove the bolts securing the ATF cooler inlet line brackets (B) from the transmission hanger (C).
12. Remove the mounting bolts and the A/T clutch pressure control solenoid valve A.
13. Remove the ATF pipe (D), ATF joint pipes (E), Orings (F), and gasket (G).
14. Check the fluid passage of the A/T clutch pressure control solenoid valve for dust or dirt, and clean the passage.





15. Connect the battery negative terminal to A/T clutch pressure control solenoid valve connector terminal No. 2, and connect the battery positive terminal to the terminal No. 1. Make sure the A/T clutch pressure control solenoid valve moves.
16. Disconnect one of the battery terminals, and check valve movement.

NOTE: You can see valve movement through the fluid passage in the mounting surface of the A/T clutch pressure control solenoid valve A body.

17. If the valve binds or moves sluggishly, or if the solenoid valve does not operate, replace the A/T clutch pressure control solenoid valve A.
18. Install the new gasket on the transmission housing, and install the ATF pipe and ATF joint pipes.
19. Install the new O-rings over the ATF joint pipes.
20. Install the A/T clutch pressure control solenoid valve A.
21. Secure the ATF cooler inlet line brackets with the bolts on the transmission hanger.
22. Check the A/T clutch pressure control solenoid valve A connector for rust, dirt, or oil then connect the connector securely.
23. Install the intake air duct.