Operation CHARM: Car repair manuals for everyone.
Manuals through 2025 now available!

Our trusted friends have launched a new website named LEMON, which has newer manuals. It also contains all the CHARM manuals.

LEMON is the spiritual successor to CHARM, I recommend you try it!

Link: lemon-manuals.la or lemon-manuals.org.ua

(Some people have issue connecting. LEMON is investigating. For now, use Firefox or change your DNS server)

Or, hide this message: temporarily or permanently

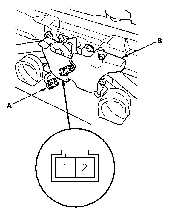
Hood Switch Test

Hood Switch Test

1. Open the hood.
2. Disconnect the 2P connector (A) from the hood switch (B).






3. Check for continuity between the terminals. There should be continuity between the No. 1 and No. 2 terminals when the hood is opened (latch released). There should be no continuity between the No. 1 and No. 2 terminals when the hood is closed (latch pushed down).
4. If the continuity is not as specified, replace the hood switch.