Operation CHARM: Car repair manuals for everyone.
Manuals through 2025 now available!

Our trusted friends have launched a new website named LEMON, which has newer manuals. It also contains all the CHARM manuals.

LEMON is the spiritual successor to CHARM, I recommend you try it!

Link: lemon-manuals.la or lemon-manuals.org.ua

(Some people have issue connecting. LEMON is investigating. For now, use Firefox or change your DNS server)

Or, hide this message: temporarily or permanently

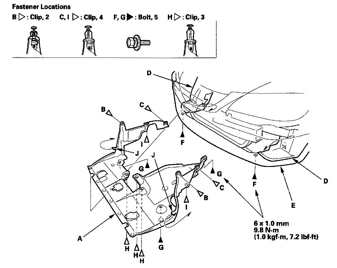
Splash Guard: Service and Repair

Splash Shield Replacement

Special Tools Required
Push pin puller 07AAC-SJAA100

NOTE: Take care not to scratch the body.

1. Remove the splash shield (A).
1. Remove the clips (B, C) that secure the front inner fender (D) and splash shield to the body.
2. From under the front bumper (E), remove the bolts (F) (with engine undercover).
3. From under the body, remove the bolts (G) and clips (H, I).




4. Release the hooks (J) of the splash shield, then pull the splash shield out.

2. Install the splash shield in the reverse order of removal, and note these items:
- Check if the clips are damaged or stress-whitened, and if necessary, replace them with new ones.
- Push the clips into place securely.