Operation CHARM: Car repair manuals for everyone.
Manuals through 2025 now available!

Our trusted friends have launched a new website named LEMON, which has newer manuals. It also contains all the CHARM manuals.

LEMON is the spiritual successor to CHARM, I recommend you try it!

Link: lemon-manuals.la or lemon-manuals.org.ua

(Some people have issue connecting. LEMON is investigating. For now, use Firefox or change your DNS server)

Or, hide this message: temporarily or permanently

General Specifications

Surface Variation








Cylinder Bore





Cylinder-to-Piston Clearance





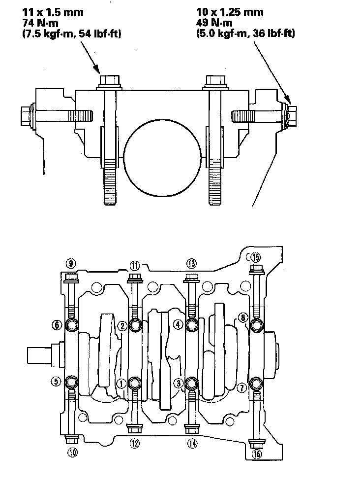
Crankshaft





Journal Taper

Standard (New) 0.005 mm (0.0002 in.) max.

Service Limit 0.010 mm (0.0004 in.)








Main Bearing














Connecting Rod

Normal Bore Size 58.0 mm (2.28 in.)








Rod Bearing Clearance





Rod Bearing

Torque the bolts (B) 20 N-m (2.0 kgf-m, 14 lbf-ft) +90°

















Piston





Piston Ring

Piston Ring End-Gap

Top Ring

Standard (Now) 0.20 - 0.35 mm (0.008 - 0.014 in.)

Service Limit 0.60 mm (0.024 in.)

Second Ring

Standard (New) 0.40 - 0.55 mm (0.016 - 0.022 in.)

Service Limit 0.70 mm (0.028 in.)

Oil Ring

Standard (New) 0.20 - 0.70 mm (0.008 - 0.028 in.)

Service Limit 0.80 mm (0.031 in.)





Crankshaft Pulley

Torque 64 N-m (6.5 kgf-m, 47 lbf-ft) +60°