Operation CHARM: Car repair manuals for everyone.
Manuals through 2025 now available!

Our trusted friends have launched a new website named LEMON, which has newer manuals. It also contains all the CHARM manuals.

LEMON is the spiritual successor to CHARM, I recommend you try it!

Link: lemon-manuals.la or lemon-manuals.org.ua

(Some people have issue connecting. LEMON is investigating. For now, use Firefox or change your DNS server)

Or, hide this message: temporarily or permanently

Brake Bleeding: Service and Repair

Brake System Bleeding

NOTE:
^ Do not reuse the drained fluid. Use only clean Acura DOT 3 Brake Fluid from an unopened container. Using a non-Acura brake fluid can cause corrosion and shorten the life of the system.
^ Make sure no dirt or other foreign matter is allowed to contaminate the brake fluid.
^ Do not mix different brands of brake fluid; they may not be compatible.
^ Do not spill brake fluid on the vehicle, it may damage the paint; if brake fluid does contact the paint, wash it off immediately with water.
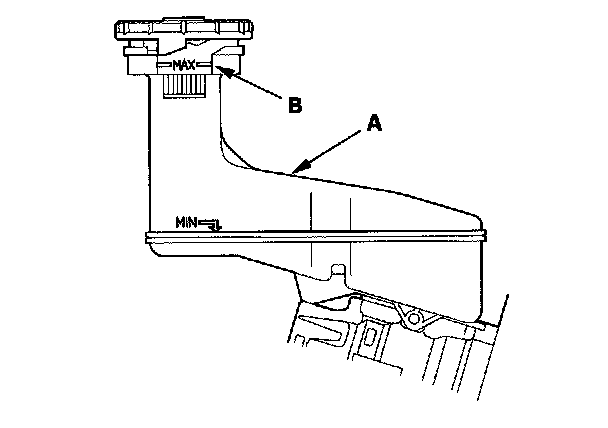
^ The reservoir connected to the master cylinder must be at the MAX (upper) level mark at the start of the bleeding procedure and checked after bleeding each brake caliper. Add fluid as required.

1. Make sure the brake fluid level in the reservoir (A) is at the MAX (upper) level line (B).





2. Attach a length of clear drain tube to the bleed screw.
3. Have someone slowly pump the brake pedal several times, then apply steady pressure.
4. Starting at the left-front, loosen the brake bleed screw to allow air to escape from the system. Then tighten the bleed screw securely.
5. Repeat the procedure for each wheel in the sequence shown until air bubbles no longer appear in the fluid.

NOTE: The front and rear bleed screw caps (A) are different. Make sure to install them in the proper position.





6. Refill the master cylinder reservoir to the MAX (upper) level line.