Power and Ground Distribution: Testing and Inspection
Power Relay TestUse this chart to identify the type of relay, then do the test listed for it.
NOTE: For the turn signal/hazard relay 1 input test, refer to Lighting and Horns.
Normally-open type A
Check for continuity between the terminals.
- There should be continuity between the No. 1 and No. 2 terminals when power is connected to the No. 4 terminal and ground the No. 3 terminal.
- There should be no continuity between the No. 1 and No. 2 terminals when power is disconnected.
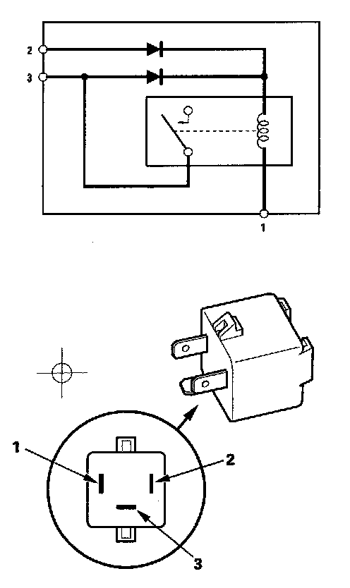
Normally-open type B
Check for continuity between the terminals.
- There should be continuity between the No. 1 and No. 3 terminals when power and ground are connected to the No. 2 and No. 4 terminals.
- There should be no continuity between the No. 1 and No. 3 terminals when power is disconnected.
Normally-open type C
Check for continuity between the terminals.
- There should be continuity between the No. 1 and No. 3 terminals when battery positive terminal is connected to the No. 2 terminal, and battery negative terminal is connected to the No. 4 terminal.
- There should be no continuity between the No. 1 and No. 3 terminals when power is disconnected.
Five-terminal type B
Check for continuity between the terminals.
- There should be continuity between the No. 1 and No. 2 terminals when power is connected to the No. 5 terminal and ground the No. 3 terminal.
- There should be continuity between the No. 1 and No. 4 terminals when power is disconnected.
Turn Signal/Hazard Relay 2 (sounder)
Check for a sound from the turn signal/hazard relay 2 The relay should sound once when power and ground are connected to the No. 2 and No. 1 terminals, and No. 3 and No. 1 terminals.