Operation CHARM: Car repair manuals for everyone.
Manuals through 2025 now available!

Our trusted friends have launched a new website named LEMON, which has newer manuals. It also contains all the CHARM manuals.

LEMON is the spiritual successor to CHARM, I recommend you try it!

Link: lemon-manuals.la or lemon-manuals.org.ua

(Some people have issue connecting. LEMON is investigating. For now, use Firefox or change your DNS server)

Or, hide this message: temporarily or permanently

General Specifications

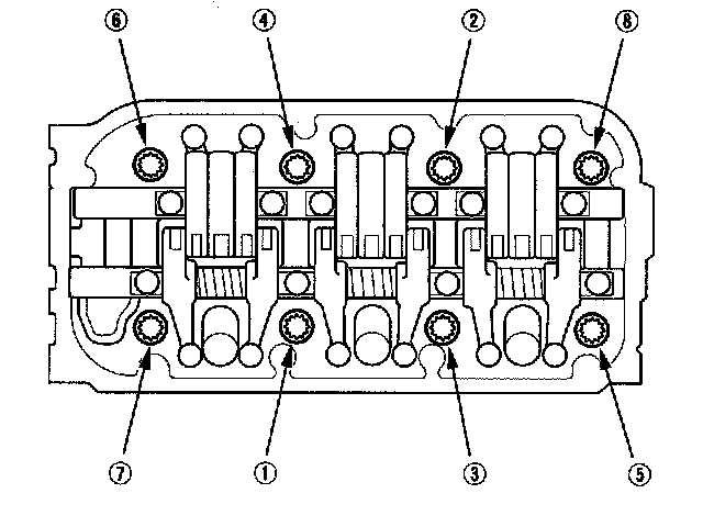
Cylinder Head

6 Point

Tighten bolts sequentially in three steps:

1st Step Torque 39 N-m (4.0 kgf-m, 29 lbf-ft)

2nd Step Torque 69 N-m (7.0 kgf-m, 51 lbf-ft)

3rd Step Torque 98.1 N-m (10.0 kgf-m, 72.3 lbf-ft)





12 Point

Torque in sequence 29 N-m (3.0 kgf-m, 22 lbf-ft).

After torquing, tighten in 2 steps (90° per step).

New bolt extra 90°.








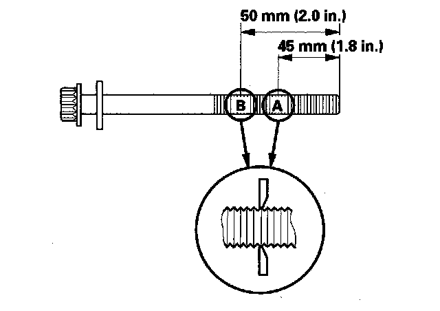
Measure the diameter of each cylinder head bolt at point A and point B.





If either diameter is less than 11.3 mm (0.44 in.), replace the cylinder head bolt.

Surface Variation








Warpage less than 0.05 mm (0.002 in.) no resurfacing

Warpage is 0.05 mm (0.002 in.) to 0.2 mm (0.008 in.) resurface

Max. resurface limit 0.2 mm (0.008 in.)
based on a height of 121 mm (4.76 in.).





Camshaft Gear/Sprocket