Operation CHARM: Car repair manuals for everyone.
Manuals through 2025 now available!

Our trusted friends have launched a new website named LEMON, which has newer manuals. It also contains all the CHARM manuals.

LEMON is the spiritual successor to CHARM, I recommend you try it!

Link: lemon-manuals.la or lemon-manuals.org.ua

(Some people have issue connecting. LEMON is investigating. For now, use Firefox or change your DNS server)

Or, hide this message: temporarily or permanently

Switch Test

Switch Test

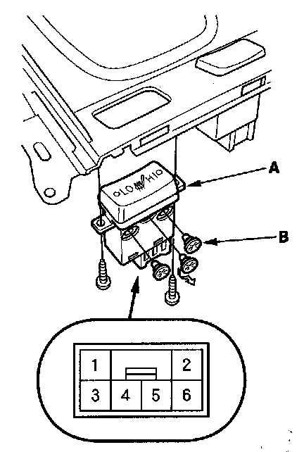
1. Remove the center console panel.
2. Disconnect the 6P connector from the seat heater switch (A).






3. Remove the two screws and the switch.
4. Check for continuity between the terminals in each switch position according to the table.






5. If the continuity check is not as specified, replace the illumination bulbs (B) or the switch.