Operation CHARM: Car repair manuals for everyone.
Manuals through 2025 now available!

Our trusted friends have launched a new website named LEMON, which has newer manuals. It also contains all the CHARM manuals.

LEMON is the spiritual successor to CHARM, I recommend you try it!

Link: lemon-manuals.la or lemon-manuals.org.ua

(Some people have issue connecting. LEMON is investigating. For now, use Firefox or change your DNS server)

Or, hide this message: temporarily or permanently

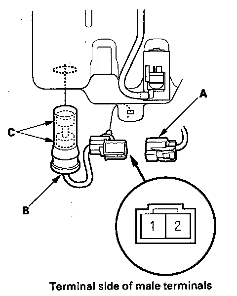
Washer Fluid Level Switch Test

Washer Fluid Level Switch Test

Canada models

1. Remove the right inner fender.
2. Disconnect the 2P connector (A) from the washer fluid level switch (B).






3. Remove the washer fluid level switch from the reservoir.

NOTE: Fluid may flow out of the opening.

4. Check for continuity between the No. 1 and No. 2 terminals in each float position (C).

- There should be continuity when the float is down.
- There should be no continuity when the float is up.

5. If the continuity is not as specified, replace the switch.