Operation CHARM: Car repair manuals for everyone.
Manuals through 2025 now available!

Our trusted friends have launched a new website named LEMON, which has newer manuals. It also contains all the CHARM manuals.

LEMON is the spiritual successor to CHARM, I recommend you try it!

Link: lemon-manuals.la or lemon-manuals.org.ua

(Some people have issue connecting. LEMON is investigating. For now, use Firefox or change your DNS server)

Or, hide this message: temporarily or permanently

Navigation System: Service and Repair

DVD-ROM Replacement

NOTE: When the DVD-ROM is re-inserted or replaced, a map match must be done.

1. Turn the ignition switch ON (II).
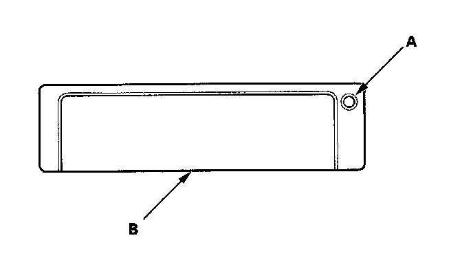
2. Push the open button (A) of the navigation unit (B) located in the trunk area.






3. Press the EJECT button.
4. Remove the DVD-ROM.
5. Insert the new DVD-ROM with the white label facing up.
6. Push the open button. Do not turn the ignition switch to LOCK (0), until data is downloaded to navigation unit.
7. Do the Map Matching.

NOTE: After servicing, the front cover must be closed. If you start up the navigation system with the front cover open, the display will indicate. "Navigation unit door is open or No DVD Disk installed. Please check system".