Operation CHARM: Car repair manuals for everyone.
Manuals through 2025 now available!

Our trusted friends have launched a new website named LEMON, which has newer manuals. It also contains all the CHARM manuals.

LEMON is the spiritual successor to CHARM, I recommend you try it!

Link: lemon-manuals.la or lemon-manuals.org.ua

(Some people have issue connecting. LEMON is investigating. For now, use Firefox or change your DNS server)

Or, hide this message: temporarily or permanently

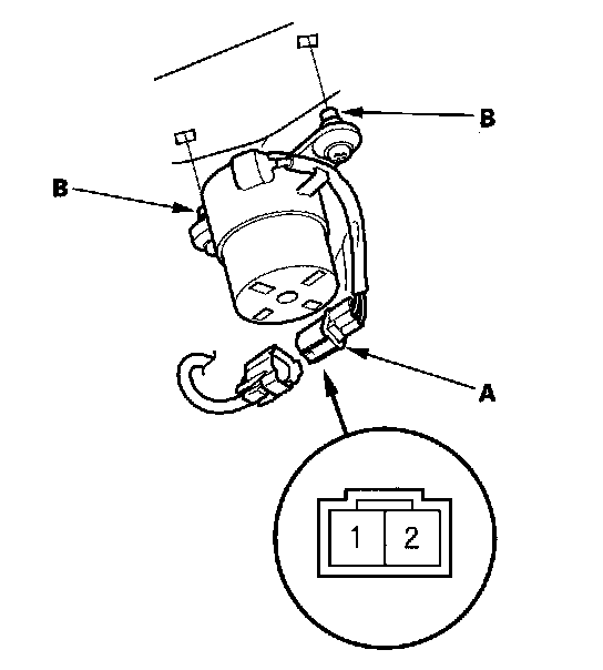
Keyless Buzzer Test/Replacement

Keyless Buzzer Test/Replacement

1. Remove the left inner fender.
2. Disconnect the 2P connector (A) and remove the keyless buzzer by releasing the hooks (B).






3. Test the buzzer by connecting battery power to the No. 2 terminal and grounding the No. 1 terminal of the buzzer momentarily; the buzzer should sound.
4. If the buzzer does not sound, replace the keyless buzzer.