Operation CHARM: Car repair manuals for everyone.
Manuals through 2025 now available!

Our trusted friends have launched a new website named LEMON, which has newer manuals. It also contains all the CHARM manuals.

LEMON is the spiritual successor to CHARM, I recommend you try it!

Link: lemon-manuals.la or lemon-manuals.org.ua

(Some people have issue connecting. LEMON is investigating. For now, use Firefox or change your DNS server)

Or, hide this message: temporarily or permanently

Overhaul

Audio-HVAC Display Panel Disassembly/Reassembly

1. Remove the audio-HVAC display panel.
2. Remove the mounting screws and the cover (A).






3. With navigation system: Remove the mounting screws and disconnect the connectors (A) from the circuit board (B), then remove the circuit board from the display unit (C).






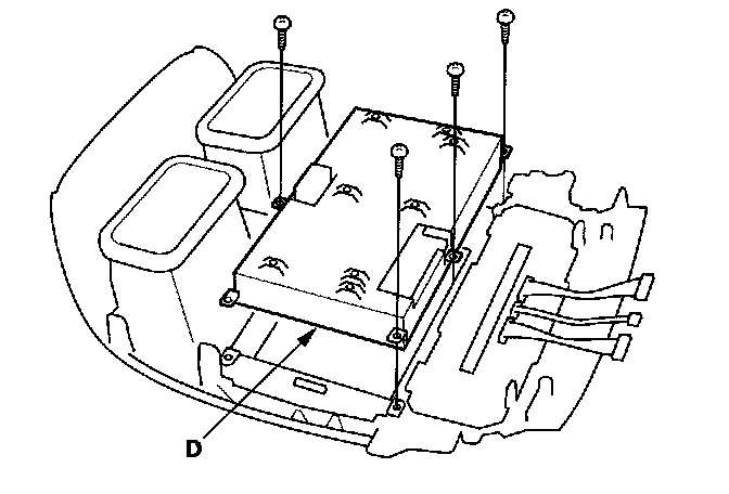
4. With navigation system: Remove the mounting screws and the display unit (D).






5. Without navigation system: Remove the mounting screws, then remove the printed circuit board (A).






6. Install the audio unit and printed circuit board in the reverse order of removal.