Operation CHARM: Car repair manuals for everyone.
Manuals through 2025 now available!

Our trusted friends have launched a new website named LEMON, which has newer manuals. It also contains all the CHARM manuals.

LEMON is the spiritual successor to CHARM, I recommend you try it!

Link: lemon-manuals.la or lemon-manuals.org.ua

(Some people have issue connecting. LEMON is investigating. For now, use Firefox or change your DNS server)

Or, hide this message: temporarily or permanently

Console Accessory Power Socket Test/Replacement

Console Accessory Power Socket Test/Replacement

1. Open the center console.
2. Remove the screw and accessory power socket panel (A).






3. Disconnect the 2P connector (B) from the console accessory power socket (C).
4. Inspect the connector terminals to be sure they are all making good contact.
- If the terminals are bent, loose, or corroded, repair them as necessary, and recheck the system.
- If the terminals look OK, go to step 5.

5. Turn the ignition switch to ACC (I), and measure the voltage between the No. 1 terminal and body ground. There should be battery voltage.
- If there is battery voltage, go to step 6.
- If there is no battery voltage, check for:
- Blown No. 9 (15 A) or No. 32 (7.5 A) fuse in the under-dash fuse/relay box.
- Faulty accessory power socket relay.
- Poor ground (G501).
- An open in the wire.

6. Check for continuity between the No. 2 terminal and body ground. There should be continuity.
- If there is continuity, go to step 7.
- If there is no continuity, check for:
- Poor ground (G506).
- An open in the wire.

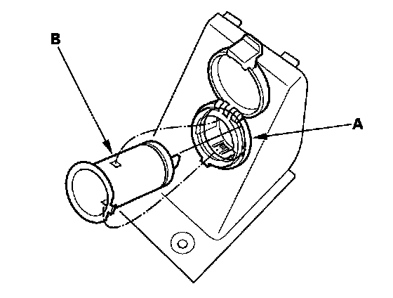
7. Remove the housing (A) and socket (B).






8. Remove the housing (A) from the panel (B).






9. Install in the reverse order of removal.