Power and Ground Distribution: Testing and Inspection
Power Relay TestUse this chart to identify the type of relay, then do the test listed for it.
NOTE: For the turn signal/hazard relay input test, refer to Lighting and Horns.
Normally-open type
Check for continuity between the terminals.
- There should be continuity between the No. 1 and No. 2 terminals when battery positive terminal is connected to the No. 4 terminal, and battery negative terminal is connected to the No. 3 terminal.
- There should be no continuity between the No. 1 and No. 2 terminals when power is disconnected.
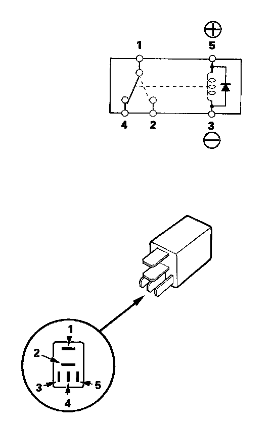
Five-terminal type
Check for continuity between the terminals.
- There should be continuity between the No. 1 and No. 2 terminals when battery positive terminal is connected to the No. 5 terminal, and battery negative terminal is connected to the No. 3 terminal.
- There should be continuity between the No. 1 and No. 4 terminals when power is disconnected.