Operation CHARM: Car repair manuals for everyone.
Manuals through 2025 now available!

Our trusted friends have launched a new website named LEMON, which has newer manuals. It also contains all the CHARM manuals.

LEMON is the spiritual successor to CHARM, I recommend you try it!

Link: lemon-manuals.la or lemon-manuals.org.ua

(Some people have issue connecting. LEMON is investigating. For now, use Firefox or change your DNS server)

Or, hide this message: temporarily or permanently

Pressure Test

Pressure Test

Special Tools Required
^ A/T oil pressure gauge set w/panel 07406-0020400 or 07406-0020401
^ A/T pressure hose, 2,210 mm 07MAJ-PY4011A
^ A/T pressure hose adapter 07MAJ-PY40120

1. Make sure the transmission fluid is filled to the proper level.
2. Raise the vehicle up on a lift, or apply the parking brake, block rear wheels, and raise the front of the vehicle. Make sure it is securely supported.
3. Allow the front wheels to rotate freely.
4. Remove the splash shield.
5. Connect the HDS to the DLC (A).





6. Make sure the HDS communicates with the PCM. If it does not, go to the DLC circuit troubleshooting.
7. Connect the A/T oil pressure gauge to the line pressure inspection port (A). Do not allow dust or other foreign particles to enter the port while connecting the gauge.





8. Start the engine, and warm it up to normal operating temperature (the radiator fan comes on).
9. Hold the engine speed at 2,000 rpm in P or N.
10. Measure the line pressure at the line pressure inspection port (A).

NOTE: Higher pressure may be indicated if measurements are made in shift lever position other than P or N.





11. Turn the engine off, then disconnect the A/T oil pressure gauge from the line pressure inspection port.
12. Install the sealing bolt in the line pressure inspection port with a new sealing washer, and tighten the bolt to 18 N-m (1.8 kgf-m, 13 lbf-ft). Do not reuse old sealing washer.
13. Connect the A/T oil pressure gauge to the 1st clutch pressure inspection port (B).





14. Remove the intake air duct and air cleaner assembly, and connect the A/T oil pressure gauge to the 2nd clutch pressure inspection port (C). Then temporarily install the air cleaner assembly and intake air duct.





15. Start the engine, and shift the shift lever into M.
16. Shift to 1st gear, and measure the 1st clutch pressure at the 1st clutch pressure inspection port (B) while holding engine speed at 2,000 rpm.
17. Shift up to 2nd gear, and measure the 2nd clutch pressure at the 2nd clutch pressure inspection port (C) while holding engine speed at 2,000 rpm.





18. Turn the engine off, then disconnect the A/T oil pressure gauges from the 1st clutch pressure and the 2nd clutch pressure inspection ports.
19. Install the sealing bolts in the 1st clutch pressure and the 2nd clutch pressure inspection ports with new sealing washers, and tighten the bolts to 18 N�m (1.8 kgf-m, 13 lbf-ft). Do not reuse old sealing washers.
20. Connect the A/T oil pressure gauge to the 3rd clutch pressure inspection port (D) and the 5th clutch pressure inspection port (F).





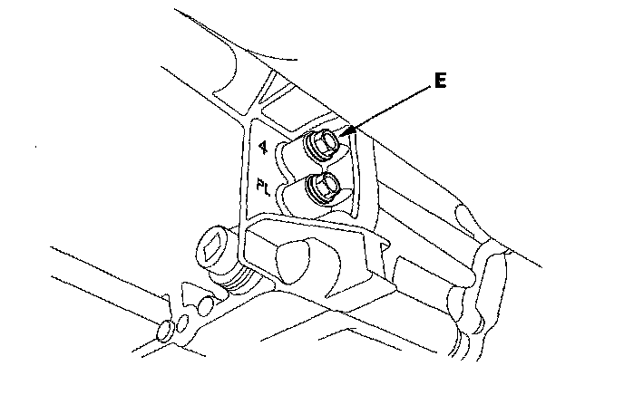
21. Connect the A/T oil pressure gauge to the 4th clutch pressure inspection port (E).





22. Start the engine with the shift lever in P while pressing the brake pedal.
23. Shift the shift lever to M, and release the brake pedal; the transmission is in 1st gear.
24. Press the accelerator pedal to increase the engine speed to 2,500 rpm, then shift to 2nd gear.
25. Release the accelerator pedal slowly to close the throttle over 5 seconds; the engine speed decreases to 1,000 rpm with the transmission in 2nd gear.
26. Press the accelerator pedal very slowly to increase the engine speed to 2,000 rpm over 5 seconds, and hold the accelerator. Shift to 3rd gear, and measure the 3rd clutch pressure at the 3rd clutch pressure inspection port (D) while holding engine speed at 2,000 rpm.
27. Shift to 4th gear, and measure the 4th clutch pressure at the 4th clutch pressure inspection port (E) while holding engine speed at 2,000 rpm.
28. Shift to 5th gear, measure the 5th clutch pressure at the 5th clutch pressure inspection port (F) while holding engine speed at 2,000 rpm.





29. Bring the engine back to an idle, then apply the brake pedal to stop the wheels from rotating.
30. Shift the shift lever to R, then release the brake pedal. Raise the engine speed to 2,000 rpm, and measure the 4th clutch pressure at the 4th clutch pressure inspection port (E).





31. Turn the engine off, then disconnect the A/T oil pressure gauges from the 3rd, 4th, and 5th clutch pressure inspection ports.
32. Install the sealing bolts in the 3rd, 4th, and 5th clutch pressure inspection ports with new sealing washers, and tighten the bolts to 18 N-m (1.8 kgf-m, 13 lbf-ft). Do not reuse old sealing washers.
33. If the pressures are out of the service limit, the problems and probable causes are listed in the table.





34. Install the air cleaner assembly and intake air duct.
35. Install the splash shield.