Operation CHARM: Car repair manuals for everyone.
Manuals through 2025 now available!

Our trusted friends have launched a new website named LEMON, which has newer manuals. It also contains all the CHARM manuals.

LEMON is the spiritual successor to CHARM, I recommend you try it!

Link: lemon-manuals.la or lemon-manuals.org.ua

(Some people have issue connecting. LEMON is investigating. For now, use Firefox or change your DNS server)

Or, hide this message: temporarily or permanently

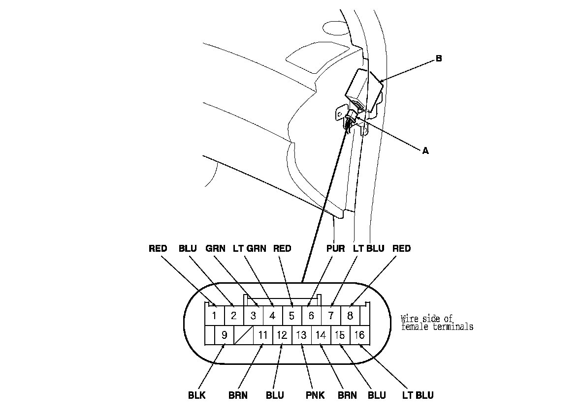
Headlamp Alignment Control Module: Testing and Inspection




Headlight Leveling Control Unit Input Test

1. Turn the ignition switch to LOCK (0) and remove the glove box. Service and Repair

2. Disconnect the 16P connector (A) from the headlight leveling control unit (B).

3. Inspect the connector and socket terminals to be sure they are all making good contact.
- If the terminals are bent, loose or corroded, repair them as necessary, and recheck the system.

- If the terminals are OK, go to step 4.

4. With the connector still disconnected, do these input tests at the following connector.
- If any test indicates a problem, find and correct the cause, then recheck the system.

- If all the input tests prove OK, go to step 5.





5. Reconnect the connector, turn the ignition switch to ON (II), and do these input tests at the following connector.
- If any test indicate a problem, find and correct the cause, then recheck the system.

- If all the input tests prove OK, replace the headlight leveling control unit.

NOTE: After replacing the control unit, do the headlight initial position learning procedure. Programming and Relearning