Operation CHARM: Car repair manuals for everyone.
Manuals through 2025 now available!

Our trusted friends have launched a new website named LEMON, which has newer manuals. It also contains all the CHARM manuals.

LEMON is the spiritual successor to CHARM, I recommend you try it!

Link: lemon-manuals.la or lemon-manuals.org.ua

(Some people have issue connecting. LEMON is investigating. For now, use Firefox or change your DNS server)

Or, hide this message: temporarily or permanently

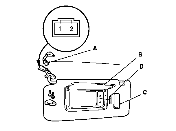
Vanity Mirror Light Test/Replacement




Vanity Mirror Light Test/Replacement

1. Open the sunvisor.

2. Remove the sunvisor. Service and Repair

3. Disconnect the 2P connector (A) from the vanity mirror light.





4. Check for continuity between the terminals No. 1 and No. 2.
- With the vanity mirror cover (B) opened, there should be continuity.

- With the vanity mirror cover closed, there should be no continuity.

5. If the continuity is not as specified, remove the lens (C) and replace the bulb (D) or the sunvisor.