Operation CHARM: Car repair manuals for everyone.
Manuals through 2025 now available!

Our trusted friends have launched a new website named LEMON, which has newer manuals. It also contains all the CHARM manuals.

LEMON is the spiritual successor to CHARM, I recommend you try it!

Link: lemon-manuals.la or lemon-manuals.org.ua

(Some people have issue connecting. LEMON is investigating. For now, use Firefox or change your DNS server)

Or, hide this message: temporarily or permanently

Tightening Torques and Sequences

Main bearing





Tighten the bearing cap bolts, and then the bearing cap side bolts to the specified torque in the sequence as shown. Repeat the torque sequence again to asure the bolts are properly torqued


Crankshaft bearing size codes

Crankshaft Bore Code Location






Main journal code locations (numbers or bars)






Bearing table






Connecting rod

1st 20 N-m (2.0 kgf-m, 14 ft lb)
2nd 90 °


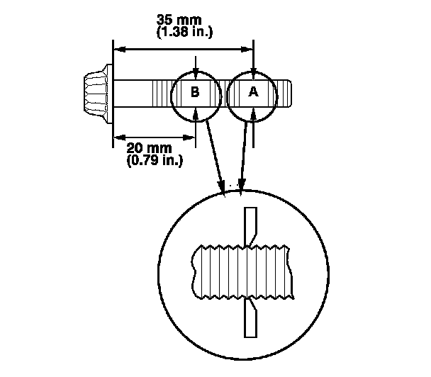
Connecting rod bolt usabillity

Point A - Point B = Difference in Diameter






Difference in Diameter





If the difference in diameter is out of tolerance, replace the connecting rod bolt.


Connecting rod bearing size codes

Connecting rod end code locations






Connecting rod journal code locations






Bearing table






Crankshaft pulley
1st 64 N-m (6.5 kgf-m, 47 ft lb)
2nd 60 °


Drive Plate
Torque 74 Nm (7.5 kgf-m, 54 ft lb)
Tighten in a crisscross pattern in two or more steps


Oil pump
Torque 12 Nm (1.2 kgf-m, 8.8 ft lb)


Water pump
Torque 12 Nm (1.2 kgf-m, 8.8 ft lb)