Operation CHARM: Car repair manuals for everyone.
Manuals through 2025 now available!

Our trusted friends have launched a new website named LEMON, which has newer manuals. It also contains all the CHARM manuals.

LEMON is the spiritual successor to CHARM, I recommend you try it!

Link: lemon-manuals.la or lemon-manuals.org.ua

(Some people have issue connecting. LEMON is investigating. For now, use Firefox or change your DNS server)

Or, hide this message: temporarily or permanently

Tightening Torques and Sequences

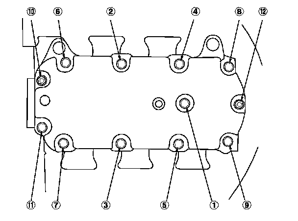
Cylinder head bolts





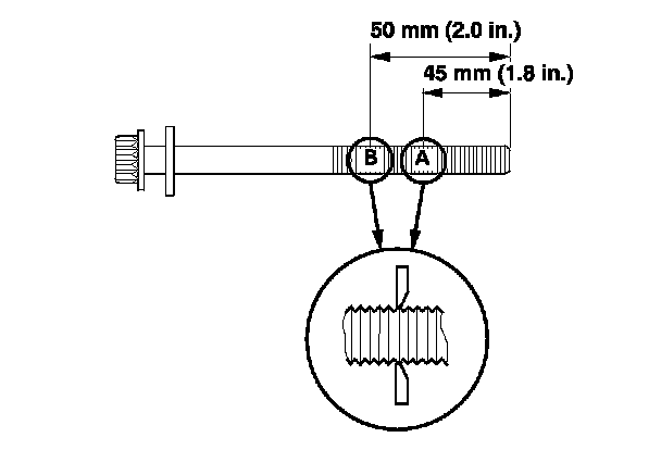
Measure the diameter of each cylinder head bolt at point A and point B.
If either diameter is less than 11.3 mm (0.44 in.), replace the cylinder head bolt.


Cylinder head





1st 29 N-m (3.0 kgf-m, 22 ft lb)
2nd 90 °
3rd 90 °
If you are using a new cylinder head bolt, tighten the bolt an extra 90 °


Intake manifold components

Injector Base 22 Nm (2.2 kgf-m, 16 ft lb)





Tighten the bolts/nuts in a crisscross pattern in three steps, beginning with the inner nuts

Intake Manifold








Tighten the bolts and nuts sequentially in three steps.

Upper Cover








Tighten the bolts and nuts sequentially in three steps.


Main bearing





Tighten the bearing cap bolts, and then the bearing cap side bolts to the specified torque in the sequence as shown. Repeat the torque sequence again to asure the bolts are properly torqued


Connecting rod

1st 20 N-m (2.0 kgf-m, 14 ft lb)
2nd 90 °


Crankshaft pulley
1st 64 N-m (6.5 kgf-m, 47 ft lb)
2nd 60 °


Drive Plate
Torque 74 Nm (7.5 kgf-m, 54 ft lb)
Tighten in a crisscross pattern in two or more steps


Oil pump
Torque 12 Nm (1.2 kgf-m, 8.8 ft lb)


Water pump
Torque 12 Nm (1.2 kgf-m, 8.8 ft lb)