Operation CHARM: Car repair manuals for everyone.
Manuals through 2025 now available!

Our trusted friends have launched a new website named LEMON, which has newer manuals. It also contains all the CHARM manuals.

LEMON is the spiritual successor to CHARM, I recommend you try it!

Link: lemon-manuals.la or lemon-manuals.org.ua

(Some people have issue connecting. LEMON is investigating. For now, use Firefox or change your DNS server)

Or, hide this message: temporarily or permanently

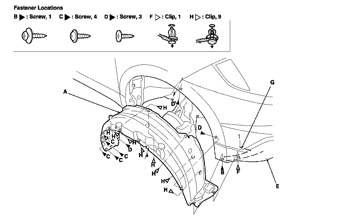
Front Inner Fender Replacement




Front Inner Fender Replacement

NOTE: Take care not to scratch the body.

1. Remove the front inner fender (A).
-1 On the back of the wheel arch, remove the screws (B, C, D).
-2 From under the front bumper (E), remove the clip (F) securing the front bumper, splash shield (G), and front inner fender.
-3 From the wheel arch, remove the clips (H) securing the front inner fender (and splash shield) to the body.
-4 Remove the front inner fender.

2. Install the inner fender in the reverse order of removal, and note these items:
- If the clips are damaged or stress-whitened, replace them with new ones.

- Push the clips into place securely.