Operation CHARM: Car repair manuals for everyone.
Manuals through 2025 now available!

Our trusted friends have launched a new website named LEMON, which has newer manuals. It also contains all the CHARM manuals.

LEMON is the spiritual successor to CHARM, I recommend you try it!

Link: lemon-manuals.la or lemon-manuals.org.ua

(Some people have issue connecting. LEMON is investigating. For now, use Firefox or change your DNS server)

Or, hide this message: temporarily or permanently

Intake Manifold: Service and Repair




Intake Manifold Removal and Installation

Exploded View





Removal

1. Relieve the fuel pressure. Service and Repair

2. Remove the charge air cooler. Service and Repair

3. Remove the fuel injector cover.

4. Remove the engine wire harness connectors and the wire harness clamps from the intake manifold.
- Four fuel injector connectors

- Throttle actuator connector

- Manifold absolute pressure (MAP) sensor connector

- Intake manifold temperature (IAT) sensor connector

- Turbocharger bypass control solenoid valve connector





5. Remove the quick-connect fitting cover (A), then disconnect the fuel feed hose. Fuel Line/Quick-Connect Fitting Removal






6. Remove the ground cable (A), the vacuum hoses (B), the brake booster vacuum hose (C), and the turbocharger bypass control solenoid valve bracket mounting bolt (D).






7. Remove the evaporative emission (EVAP) canister hose (A) and the water bypass line bracket mounting bolt (B).

8. Remove the water bypass hoses (C), then plug the water bypass hoses.






9. Remove the positive crankcase ventilation (PCV) hose (A) and the harness holder (B).






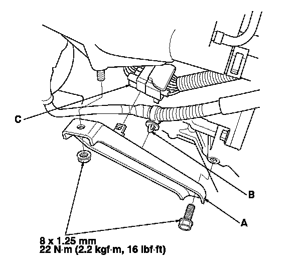
10. Remove the harness clamp (A) and the connector (B), then remove the intake manifold bracket (C).






11. Remove the intake manifold.






Installation

1. Install the intake manifold (A) with a new gasket (B), then tighten the bolts and nuts in a crisscross pattern in three steps, beginning with the inner bolt.






2. Install the intake manifold bracket (A), then install the harness clamp (B) and the connector (C).






3. Install the PCV hose (A) and the harness holder (B).






4. Install the water bypass hoses (A), the EVAP canister hose (B), and the water bypass line bracket mounting bolt (C).






5. Install the ground cable (A), the vacuum hoses (B), the brake booster vacuum hose (C), and the turbocharger bypass control solenoid valve bracket mounting bolt (D).






6. Connect the fuel feed hose, Fuel Line/Quick-Connect Fitting Removal then install the quick-connect fitting cover (A).

7. Connect the engine wire harness connectors, and install the wire harness clamps to the intake manifold.
- Four fuel injector connectors

- Throttle actuator connector

- MAP sensor connector

- IAT sensor connector

- Turbocharger bypass control solenoid valve connector





8. Install the fuel injector cover.

9. Install the charge air cooler. Service and Repair

10. Clean up any spilled engine coolant.

11. After installation, check that all tubes, hoses, and connectors are installed correctly.

12. Inspect for fuel leaks: Turn the ignition switch ON (II) (do not operate the starter) so the fuel pump runs for about 2 seconds and pressurizes the fuel line. Repeat this operation two or three times, then check for fuel leakage at any point in the fuel line.

13. Refill the radiator with engine coolant, and bleed the air from the cooling system with the heater valve open. Service and Repair