Operation CHARM: Car repair manuals for everyone.
Manuals through 2025 now available!

Our trusted friends have launched a new website named LEMON, which has newer manuals. It also contains all the CHARM manuals.

LEMON is the spiritual successor to CHARM, I recommend you try it!

Link: lemon-manuals.la or lemon-manuals.org.ua

(Some people have issue connecting. LEMON is investigating. For now, use Firefox or change your DNS server)

Or, hide this message: temporarily or permanently

Cam Chain Installation




Cam Chain Installation

Special Tools Required

- Camshaft lock pin set 07AAB-RWCA120
NOTE:

- Keep the cam chain away from magnetic fields.

- Before this procedure, check that the variable valve timing control (VTC) actuator is locked by turning the VTC actuator counterclockwise. If not locked, turn the VTC actuator clockwise until it stops, then recheck it. If it is still not locked, replace the VTC actuator.

1. Set the crankshaft to top dead center (TDC). Align the TDC mark (A) on the crankshaft sprocket with the pointer (B) on the engine block.






2. Set the camshafts to TDC. The punch mark (A) on the variable valve timing control (VTC) actuator and the punch mark (B) on the exhaust camshaft sprocket should be at the top. Align the TDC marks (C) on the VTC actuator and exhaust camshaft sprocket.






3. To hold the intake camshaft, insert a camshaft lock pin (A) into the maintenance hole in the camshaft position (CMP) pulse plate A (B) and through the No. 5 rocker shaft holder (C).

4. To hold the exhaust camshaft, insert a camshaft lock pin (A) into the maintenance hole in the camshaft position (CMP) pulse plate B (D) and through the No. 5 rocker shaft holder (C).






5. Install the cam chain on the crankshaft sprocket with the center of the two colored link plates (A) aligned with the mark (B) on the crankshaft sprocket.






6. Install the cam chain on the VTC actuator and the exhaust camshaft sprocket with the punch marks (A) aligned with the center of the three colored link plates (B).






7. Install the cam chain guide A and tensioner arm (B).






8. Compress the auto-tensioner when replacing the cam chain. Remove the pin from the auto-tensioner. Turn the plate (A) counterclockwise, to release the lock, then press the rod (B), and set the first cam (C) to the edge of the rack (D). Insert the 1.2 mm (0.05 in.) diameter pin or lock pin (P/N 14511-PNA-003) (E) into the holes.
NOTE: If the chain tensioner is not set up as described, the tensioner will become damaged.






9. Install the auto-tensioner.






10. Install the cam chain guide B.






11. Remove the pin or lock pin (P/N 14511-PNA-003) from the auto-tensioner.






12. Remove the camshaft lock pin set.

13. Check the chain case oil seal for damage If the oil seal is damaged, replace the chain case oil seal.. Service and Repair

14. Remove all of the old liquid gasket from the chain case mating surfaces, the bolts, and the bolt holes.

15. Clean and dry the chain case mating surfaces.






16. Apply liquid gasket (P/N 08717-0004, 08718-0001, 08718-0003, or 08718-0009) to the engine block mating surface of the chain case. Install the component within 5 minutes of applying the liquid gasket.
NOTE:

- Apply liquid gasket about 3 mm (0.12 in.) diameter bead along the broken line (A).

- If you apply liquid gasket P/N 08718-0012, the component must be installed within 4 minutes.

- If too much time has passed after applying the liquid gasket, remove the old liquid gasket and residue, then reapply new liquid gasket.

17. Apply liquid gasket to the engine block upper surface contact areas (B) on the chain case and lower block upper surface contact areas (C) on the chain case.
NOTE: Apply about 11 mm (0.43 in.) diameter and about 3 mm (0.12 in.) thickness of liquid gasket to areas (B) and (C).






18. Apply liquid gasket (P/N 08717-0004, 08718-0001, 08718-0003, or 08718-0009) to the oil pan mating surface of the chain case. Install the component within 5 minutes of applying the liquid gasket.
NOTE:

- Apply liquid gasket about 3 mm (0.12 in.) diameter bead along the broken line (A).

- If you apply liquid gasket P/N 08718-0012, the component must be installed within 4 minutes.

- If too much time has passed after applying the liquid gasket, remove the old liquid gasket and residue, then reapply new liquid gasket.





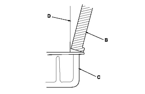
19. Install the new O-ring (A) on the chain case. Set the edge of the chain case (B) to the edge of the oil pan (C), then install the chain case on the engine block (D). Wipe off the excess liquid gasket on the oil pan and chain case mating area.
NOTE:

- When installing the chain case, do not slide the bottom surface onto the oil pan mounting surface.

- Wait at least 30 minutes to allow liquid gasket to cure before filling the engine with oil.

- Do not run the engine for at least 3 hours after installing the chain case.









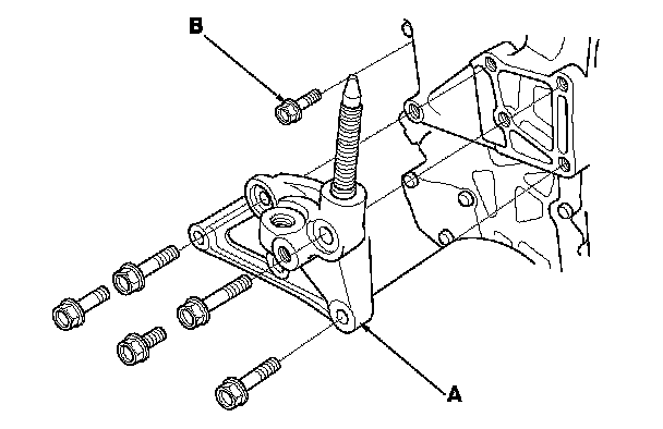
20. Install the engine mount bracket (A), then install the water bypass pipe mounting bolt (B).






21. Install the side engine mount bracket (A), then loosely tighten the new bolt and nut (B), and loosely tighten the bolt (C).

22. Install the ground cable (D).

23. Remove the air cleaner housing assembly. Service and Repair






24. Loosen the transmission mounting bolt and nuts (A).

25. Raise the lift to full height.






26. Loosen the lower torque rod mounting bolt (A).

27. Lower the vehicle on the lift.






28. Tighten the side engine mount mounting bolts and nut.






29. Tighten the transmission mounting bolt and nuts.

30. Raise the lift to full height.






31. Tighten the lower torque rod mounting bolt.

32. Lower the vehicle on the lift.

33. Install the air cleaner housing assembly. Procedures






34. Install the upper torque rod (A) and torque rod stiffener (B), and tighten the new stiffener mounting bolts (C), then tighten the new upper torque rod mounting bolts in the numbered sequence shown.

35. Install the crankshaft pulley. Service and Repair

36. Install the variable valve timing control (VTC) oil control solenoid valve. VTC Oil Control Solenoid Valve Removal/Test/Installation

37. Install the cylinder head cover. Cylinder Head Cover Installation

38. Install the drive belt. Service and Repair

39. Do the CKP pattern clear/CKP learn procedure. Initial Inspection and Diagnostic Overview