Operation CHARM: Car repair manuals for everyone.
Manuals through 2025 now available!

Our trusted friends have launched a new website named LEMON, which has newer manuals. It also contains all the CHARM manuals.

LEMON is the spiritual successor to CHARM, I recommend you try it!

Link: lemon-manuals.la or lemon-manuals.org.ua

(Some people have issue connecting. LEMON is investigating. For now, use Firefox or change your DNS server)

Or, hide this message: temporarily or permanently

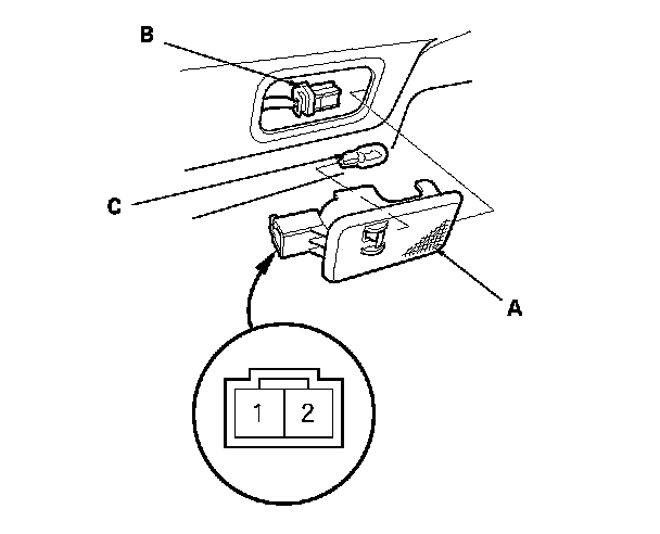
Cargo Area Light Test/Replacement




Cargo Area Light Test/Replacement

1. Open the tailgate.

2. Carefully pry out the cargo area light (A).





3. Disconnect the 2P connector (B) from the light.

4. Check for continuity between terminals No. 1 and No. 2. There should be continuity. If there is no continuity, check the bulb (C). If the bulb is OK, replace the cargo area light.