Operation CHARM: Car repair manuals for everyone.
Manuals through 2025 now available!

Our trusted friends have launched a new website named LEMON, which has newer manuals. It also contains all the CHARM manuals.

LEMON is the spiritual successor to CHARM, I recommend you try it!

Link: lemon-manuals.la or lemon-manuals.org.ua

(Some people have issue connecting. LEMON is investigating. For now, use Firefox or change your DNS server)

Or, hide this message: temporarily or permanently

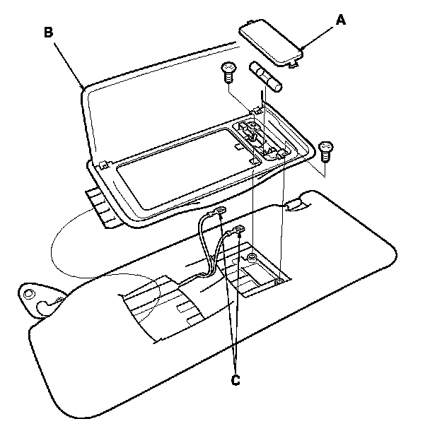
Vanity Mirror Light Test/Replacement




Vanity Mirror Light Test/Replacement

1. Remove the sunvisor. Service and Repair

2. Disconnect the 2P connector from the sunvisor (A).

3. Check for continuity between terminals No. 1 and No. 2, with the sunvisor fully retracted.
- With the vanity mirror cover (B) opened, there should be continuity.

- With the vanity mirror cover closed, there should be no continuity.

4. If the continuity check is not as specified, go to step 5.






5. Carefully pry off the lens (A) with a small screwdriver.





6. Remove the two screws, then remove the vanity mirror light (B).

7. Disconnect the two terminals (C) from the vanity mirror light.

8. Check for continuity between the terminals.
- There should continuity between the terminals with the vanity mirror cover opened.

- There should be no continuity between the terminals, with the vanity mirror cover closed.

9. If the continuity is not as specified, check the bulb or the light. If the bulb or light is OK, replace the sunvisor.

10. Install the vanity mirror light in the reverse order of removal.