Operation CHARM: Car repair manuals for everyone.
Manuals through 2025 now available!

Our trusted friends have launched a new website named LEMON, which has newer manuals. It also contains all the CHARM manuals.

LEMON is the spiritual successor to CHARM, I recommend you try it!

Link: lemon-manuals.la or lemon-manuals.org.ua

(Some people have issue connecting. LEMON is investigating. For now, use Firefox or change your DNS server)

Or, hide this message: temporarily or permanently

Power and Ground Distribution: Testing and Inspection




Power Relay Test

Special Tools Required

- Relay puller 07AAC-000A1A0
Use this chart to identify the type of relay, then do the test listed for it.





*: Carefully remove the relay from the driver's under-dash fuse/relay box using the relay puller. Do not use pliers. Pliers will damage the relay.






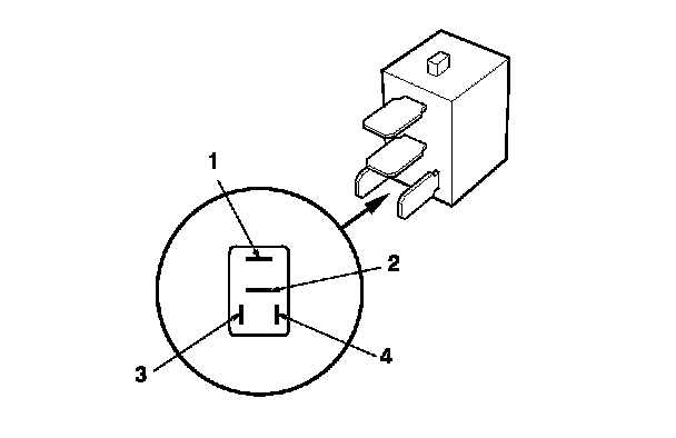
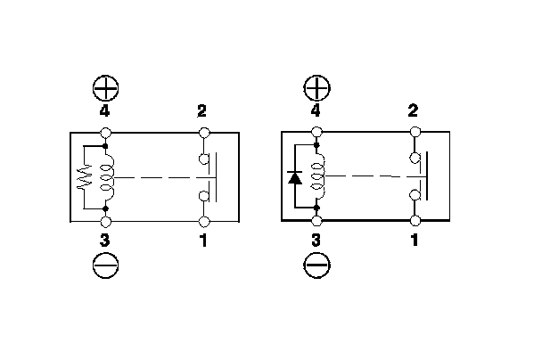
Normally-open type

Check for continuity between the terminals.

- There should be continuity between terminals No. 1 and No. 2 when the battery positive terminal is connected to terminal No. 4, and the battery negative terminal is connected to terminal No. 3.

- There should be no continuity between terminals No. 1 and No. 2 when power is disconnected.









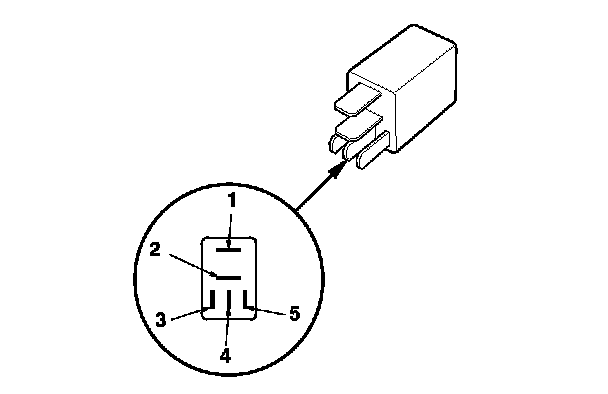
Five-terminal type

Check for continuity between the terminals.

- There should be continuity between terminals No. 1 and No. 2 when the battery positive terminal is connected to the terminal No. 5, and the battery negative terminal is connected to terminal No. 3.

- There should be continuity between terminals No. 1 and No. 4 when power is disconnected.