Operation CHARM: Car repair manuals for everyone.
Manuals through 2025 now available!

Our trusted friends have launched a new website named LEMON, which has newer manuals. It also contains all the CHARM manuals.

LEMON is the spiritual successor to CHARM, I recommend you try it!

Link: lemon-manuals.la or lemon-manuals.org.ua

(Some people have issue connecting. LEMON is investigating. For now, use Firefox or change your DNS server)

Or, hide this message: temporarily or permanently

Transmission Position Sensor/Switch: Service and Repair




Transmission Range Switch Replacement

1. Do the battery removal procedure. Removal and Replacement

2. Remove the charge air cooler cover.

3. Remove the air cleaner. Service and Repair

4. Remove the battery base. Engine Removal

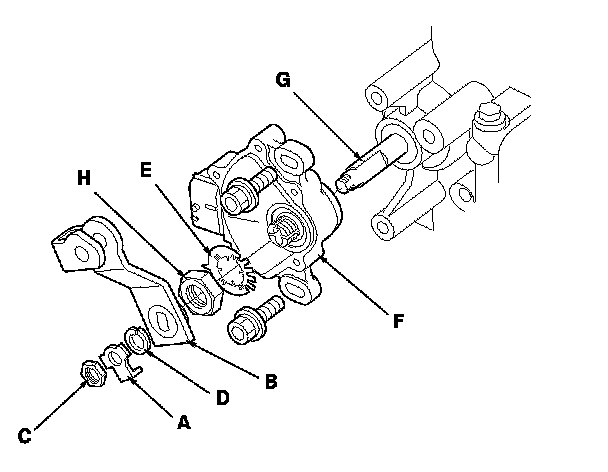
5. Remove the nuts securing the shift cable bracket (A).

6. Remove the spring clip/washer ('07 model) (B), the spring clip ('08-09 models) (C), and control pin (D), then separate the shift cable end (E) from the control lever (F).

7. Check the bushing (G) in the shift cable end for proper fit and wear. If the bushing is loose or worn, replace the shift cable. Service and Repair

8. Disconnect the transmission range switch connector.






9. Pry the lock tab of the lock washer (A) on the control lever (B), and remove the nut (C), lock washer, spring washer (D), and control lever.

10. Pry the lock tabs of the lock washer (E) on the transmission range switch (F), hold the control shaft (G) with a 6.0 mm wrench, and loosen the locknut (H).

11. Remove the locknut and lock washer, then remove the transmission range switch (two bolts).






12. Set the new transmission range switch (A) to the N position. The transmission range switch clicks in the N position, and the control shaft hole (B) aligns with the N position line (C).






13. With a 6.0 mm wrench, turn the control shaft fully counterclockwise (viewed from the shaft end) to the P position. Turn the control shaft back two click-stopped positions so it is in the N.






14. Install the transmission range switch (A) gently over the control shaft (B), and install the bolts loosely.






15. Install the new lock washer (A) over the control shaft (B) while aligning the projection (C) of the lock washer with the N positioning line (D) on the transmission range switch (E), and install the locknut (F).






16. Push the locknut against the transmission housing to seat the transmission range switch into the control shaft, and tighten the locknut (A) to 12 N-m (1.2 kgf-m, 8.7 lbf-ft) while holding the control shaft (B) with a 6.0 mm wrench (C), bend the lock tabs (D) of the lock washer against the locknut.

17. Tighten the bolts (E) to 12 N-m (1.2 kgf-m, 8.7 lbf-ft) securing the transmission range switch.






18. Install the control lever (A), spring washer (B), lock washer (C), and locknut (D) on the control shaft (E).

19. Apply molybdenum grease to the hole in the bushing in the shift cable end, attach the shift cable end to the control lever, then insert the control pin into the control lever hole through the shift cable end, and secure the control pin with the spring clip/washer.

20. Secure the shift cable bracket with the nuts.

21. Check the connectors for rust, dirt, or oil, clean them if necessary, then connect the connectors securely.

22. Install the battery base. Engine Installation

23. Install the air cleaner. Service and Repair

24. Install the charge air cooler cover.

25. Do the battery installation procedure. Removal and Replacement

26. Turn the ignition switch to ON (II). Move the shift lever through all positions, and check the transmission range switch synchronization with the A/T gear position indicator.

27. Check that the engine starts in P and N, and does not start in any other shift lever position.

28. Check that the back-up lights come on when the shift lever is in R.

29. Raise the vehicle on a lift, allow all four wheels to rotate freely, then start the engine, and check the shift lever operation.

30. Do the power window control unit reset procedure. Testing and Inspection