Operation CHARM: Car repair manuals for everyone.
Manuals through 2025 now available!

Our trusted friends have launched a new website named LEMON, which has newer manuals. It also contains all the CHARM manuals.

LEMON is the spiritual successor to CHARM, I recommend you try it!

Link: lemon-manuals.la or lemon-manuals.org.ua

(Some people have issue connecting. LEMON is investigating. For now, use Firefox or change your DNS server)

Or, hide this message: temporarily or permanently

Tightening Torques and Sequences


Main bearing cap





1st 29 N-m (3.0 kgf-m, 22 ft lb)
2nd additional 67 °





8 mm bolts 22 N-m (2.2 kgf-m, 16 ft lb)


Main bearing selection





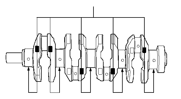
Crankshaft bore code location









Main journal code location






Bearing selection table


Connecting rod bolts

1st 29 N-m (3.0 kgf-m, 22 ft lb)
2nd additional 90 °


Connecting rod bearing selection





Connecting rod big end bore code locations









Connecting rod journal code location






Bearing selection table


Crankshaft pulley

Old bolt 49 N-m (5.0 kgf-m, 36 ft lb) plus 90°

New bolt or crankshaft
1st 177 N-m (18.0 kgf-m, 130 ft lb)
2nd loosen
3rd 49 N-m (5.0 kgf-m, 36 ft lb) plus 90°


Drive plate
Torque 74 Nm (7.5 kgf-m, 54 ft lb)
Tighten in a crisscross pattern in at least two steps


Oil pump bolts






Water pump
Torque 12 Nm (1.2 kgf-m, 8.8 ft lb)