Operation CHARM: Car repair manuals for everyone.
Manuals through 2025 now available!

Our trusted friends have launched a new website named LEMON, which has newer manuals. It also contains all the CHARM manuals.

LEMON is the spiritual successor to CHARM, I recommend you try it!

Link: lemon-manuals.la or lemon-manuals.org.ua

(Some people have issue connecting. LEMON is investigating. For now, use Firefox or change your DNS server)

Or, hide this message: temporarily or permanently

Removal and Replacement




Starter Removal and Installation

Removal

1. Make sure you have the anti-theft code for the audio system and the navigation system (if equipped). Make sure the ignition switch is in LOCK (0).

2. Disconnect the negative cable from the battery.

3. Remove the clip (A), then remove the coolant reservoir (B) from the holder.






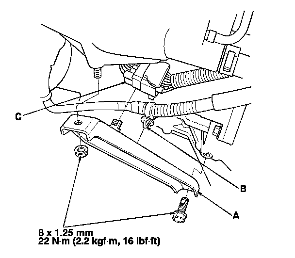
4. Remove the clips (A), then remove the support rod clamp bracket (B).






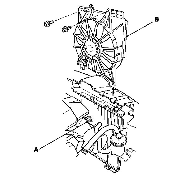
5. Disconnect the A/C condenser fan motor connector (A), then remove the A/C condenser fan shroud assembly (B).






6. Remove the harness clamp (A) and connector (B), then remove the intake manifold bracket (C).






7. Disconnect the starter cable (A) from the B terminal, then disconnect the connector (B) from the S terminal.

8. Remove the harness clamps (C), then remove the starter.






Installation

1. Install the starter, then install the starter cable (A) and connector (B). Make sure the starter cable crimped side of the ring terminal faces away from the starter when you connect it.

2. Install the harness clamps (C).






3. Install the intake manifold bracket (A), then install the harness clamp (B) and connector (C).






4. Install the A/C condenser fan shroud assembly (A), then connect the A/C condenser fan motor connector (B).






5. Install the support rod clamp bracket (A), then install the clips (B).






6. Install the coolant reservoir.

7. Connect the negative cable to the battery.

8. Start the engine to make sure the starter works properly.

9. Enter the anti-theft code for the audio system and the navigation system (if equipped).

10. Set the clock (on vehicles without navigation).