Operation CHARM: Car repair manuals for everyone.
Manuals through 2025 now available!

Our trusted friends have launched a new website named LEMON, which has newer manuals. It also contains all the CHARM manuals.

LEMON is the spiritual successor to CHARM, I recommend you try it!

Link: lemon-manuals.la or lemon-manuals.org.ua

(Some people have issue connecting. LEMON is investigating. For now, use Firefox or change your DNS server)

Or, hide this message: temporarily or permanently

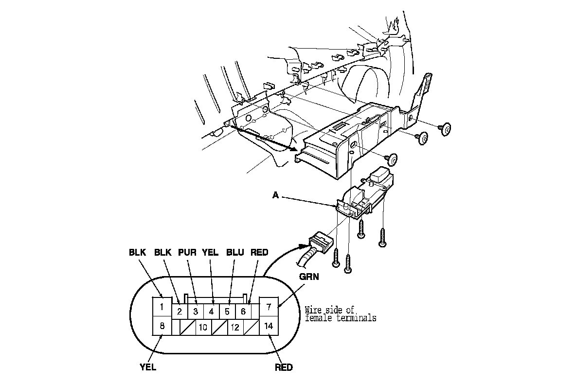
Front Passenger's Power Window Switch Input Test




Front Passenger's Power Window Switch Input Test

NOTE: The power window control unit is built into the front passenger's power window switch.

1. Remove the front passenger's power window switch (A). Service and Repair

2. Reconnect the front passenger's door wire harness to the front passenger's door subharness.

3. Inspect the connector and socket terminals to be sure they are all making good contact.
- If the terminals are bent, loose or corroded, repair them as necessary, and recheck the system.

- If the terminals look OK, make the following input tests at the connector.
- If a test indicates a problem, find and correct the cause, then recheck the system.

- If all the input tests prove OK, the front passenger's power window switch must be faulty; replace it.

4. With the switch still disconnected, do these input tests at the following connector.
- If any test indicates a problem, find and correct the cause, then recheck the system.

- If all the input tests prove OK, go to step 5.





5. Reconnect the 14P connector to the front passenger's power window switch. Turn the ignition switch to ON (II), and do these input tests at the following connector.
- If any test indicates a problem, find and correct the cause, then recheck the system.

- If all the input tests prove OK, the control unit must be faulty; replace the front passenger's power window switch.





6. Reset the power window control unit. Testing and Inspection