Operation CHARM: Car repair manuals for everyone.
Manuals through 2025 now available!

Our trusted friends have launched a new website named LEMON, which has newer manuals. It also contains all the CHARM manuals.

LEMON is the spiritual successor to CHARM, I recommend you try it!

Link: lemon-manuals.la or lemon-manuals.org.ua

(Some people have issue connecting. LEMON is investigating. For now, use Firefox or change your DNS server)

Or, hide this message: temporarily or permanently

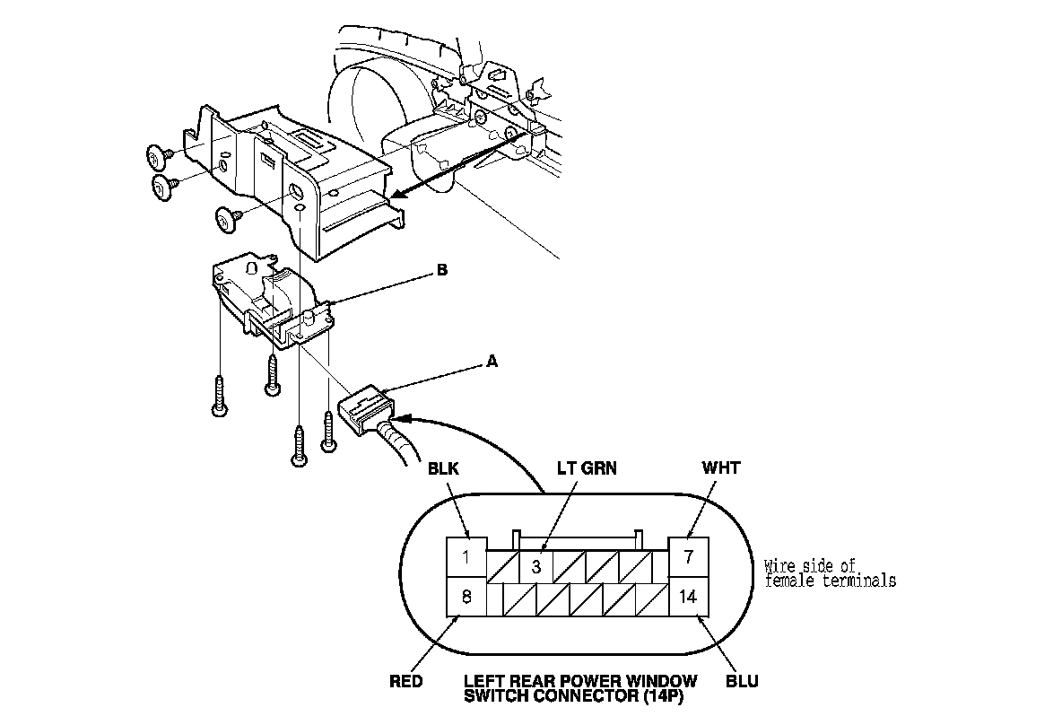
Power Windows Left Rear Power Window Switch Input Test




Power Windows Left Rear Power Window Switch Input Test

1. Remove the left rear power window switch. Service and Repair

2. Disconnect the 14P connector (A) from the left rear power window switch (B).

3. Inspect the connector and socket terminals to be sure they are all making good contact.
- If the terminals are bent, loose or corroded, repair them as necessary and recheck the system.

- If the terminals look OK, go to step 4.

4. With the connector still disconnected, do these input tests at the following connector.
- If any test indicates a problem, find and correct the cause, then recheck the system.

- If all the input tests prove OK, go to step 5.





5. Reconnect the connector to the left rear power window switch, and do these input tests at the following connector.
- If any test indicates a problem, find and correct the cause, then recheck the system.

- If all the input tests prove OK, the left rear power window switch must be faulty; replace it.