Operation CHARM: Car repair manuals for everyone.
Manuals through 2025 now available!

Our trusted friends have launched a new website named LEMON, which has newer manuals. It also contains all the CHARM manuals.

LEMON is the spiritual successor to CHARM, I recommend you try it!

Link: lemon-manuals.la or lemon-manuals.org.ua

(Some people have issue connecting. LEMON is investigating. For now, use Firefox or change your DNS server)

Or, hide this message: temporarily or permanently

Back Window Glass: Service and Repair




Rear Window Replacement

NOTE:

- Put on gloves to protect your hands.

- Wear eye protection when removing the glass with piano wire.

- Use seat covers to avoid damaging any surfaces.

- Do not damage the rear window defogger grid lines and terminals.

1. Remove these items:
- Tailgate lower trim panel

- Tailgate spoiler Trim Service and Repair

- Rear window wiper arm Service and Repair

2. Remove the lower rubber dam (A) from the edge of the rear window. If necessary, cut the rubber dam with a utility knife.






3. Disconnect the rear window defogger connectors (A).






4. If the old rear window is to be reinstalled, make alignment marks (A) across the glass and body with a grease pencil.

5. Apply protective tape along the inside and outside edges of the tailgate. Using an awl, make a hole through the adhesive from inside the vehicle at the corner portion of the rear window. Push the piano wire through the hole, and wrap each end around a piece of wood.






6. With a helper on the outside, pull the piano wire (A) back and forth in a sawing motion. Hold the piano wire as close to the rear window (B) as possible to prevent damage to the tailgate, and carefully cut through the adhesive (C) around the entire rear window.

7. Carefully remove the rear window.

8. With a putty knife, scrape the old adhesive smooth to a thickness of about 2 mm (0.08 in.) on the bonding surface around the entire rear window opening flange:
- Do not scrape down to the painted surface of the body; damaged paint will interfere with proper bonding

- Remove the fasteners from the tailgate.

9. Clean the tailgate bonding surface with a shop towel dampened in isopropyl alcohol. After cleaning, keep oil, grease, and water from getting on the surface.

10. If the old rear window is to be reinstalled, use a putty knife to scrape off all of the old adhesive, the fasteners and the rubber dams from the rear window. Clean the inside face and the edge of the rear window with isopropyl alcohol where new adhesive is to be applied. Make sure the bonding surface is kept free of water, oil, and grease.






Cutting positions





11. Attach the clips (A), the fasteners (B), the upper rubber dam (C), and the side rubber dams (D) with adhesive tape to the inside face of the rear window (E) as shown. Before installing the upper and side rubber dams, apply primer to the inside face of the rear window.
- Be sure the clips, the fasteners, and the upper rubber dam line up with alignment marks (F).

- With the printed dots (G) on the rear window as a guide, attach the side rubber dam to both side portions of the rear window.

- Be careful not to touch the rear window where adhesive will be applied.










12. Apply primer to the edge of the rear window (A) where the lower rubber dam adhesive tape will be attached as shown. Attach the lower rubber dam (B) with adhesive tape (C) along the edge of the rear window:
- After installing the rubber dam, cut the ends (D) of the rubber dam as shown.

- Be careful not to touch the windshield where adhesive will be applied.










13. Glue the fasteners (A) with adhesive tape to the tailgate as shown.










14. If the old glass is used set the rear window (A) in the opening, and center it. Make alignment marks (B) across the rear window and body with a grease pencil at the four points shown. Be careful no to touch the rear window where adhesive will be applied.

15. Remove the rear window.






16. With a sponge applicator, apply a light coat of glass primer around the edge of the rear window (A) and along the rubber dams (B) as shown, then lightly wipe it off with gauze or cheesecloth:
- Do not apply body primer to the rear window, and do not get tailgate and glass primer sponge applicators mixed up.

- Never touch the primed surfaces with your hands. If you do, the adhesive may not bond to the rear window properly, causing a leak after the rear window is installed.

- Keep water, dust, and abrasive materials away from the primed surface.





17. With a sponge applicator, apply a light coat of body primer to the original adhesive remaining around the rear window opening flange. Let the body primer dry for at least 10 minutes:
- Do not apply body primer to any remaining original adhesive on the flange.

- Be careful not to mix up the body and glass primer sponge applicators.

- Never touch the primed surfaces with your hands.





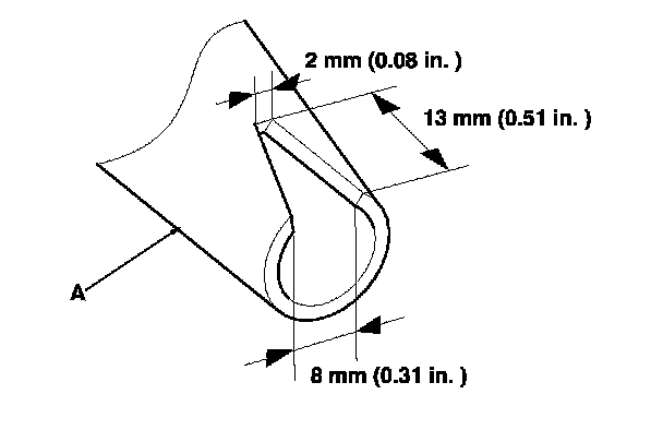
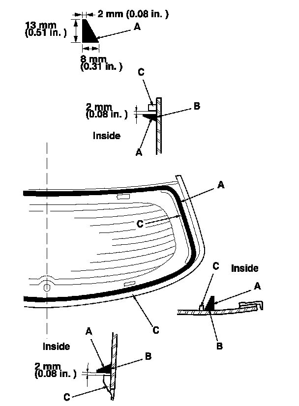
18. Before filling a cartridge, cut a "V" in the end of the nozzle (A) as shown.






19. Pack adhesive into the cartridge without air pockets to ensure continuous delivery. Put the cartridge in a caulking gun, and run a bead of adhesive (A) on the glass primer trace (B) along the rubber dams (C) as shown.
Apply the adhesive within 30 minutes after applying the glass primer. Make a slightly thicker bead at each corner.

20. Use suction cups to hold the rear window over the opening, align it with the alignment marks you made in step 14, and set it down on the adhesive. Lightly push on the rear window until its edges are fully seated on the adhesive all the way around.
NOTE: Do not open or close any of the doors for about an hour until the adhesive is dry.

21. Scrape or wipe the excess adhesive off with a putty knife or towel. To remove adhesive from a painted surface or the rear window, use a soft shop towel dampened with isopropyl alcohol.

22. After the adhesive has dried, spray water over the rear window and check for leaks. Mark the leaking areas, let the rear window dry, then seal with sealant. Let the vehicle stand for at least 4 hours after rear window installation. If the vehicle has to be used within the first 4 hours, it must be driven slowly.

23. Reinstall all remaining removed parts.
NOTE: Advise the customer not to do the following things for 2 to 3 days:

- Slam the doors with all the windows rolled up.

- Twist the body excessively (such as when going in and out of driveways at an angle or driving over rough, uneven roads).